Кофемашина DeLonghi Dinamica Plus ECAM380.95.TB — устройство для приготовления кофе, которое сочетает функциональность и стильный дизайн.
Руководство / инструкция
ECAM38X.7Y - ECAM38X.8Y - ECAM38X.9Y
КОФЕМАШИНА
Инструкции по применению на русском языке


СОДЕРЖАНИЕ:
- 1. ВВЕДЕНИЕ
- 2. ОПИСАНИЕ
- 3. ПЕРВОЕ ВКЛЮЧЕНИЕ ПРИБОРА
- 4. ВКЛЮЧЕНИЕ ПРИБОРА
- 5. ВЫКЛЮЧЕНИЕ ПРИБОРА
- 6. МЕНЮ НАСТРОЕК
- 6.1 Доступ к меню
- 6.2 Выход из меню
- 6.3 Ополаскивание
- 6.4 Удаление накипи
- 6.5 Очистка кувшина
- 6.6 Программа MY
- 6.7 Температура кофе
- 6.8 Параметры напитков
- 6.9 Фильтр для воды
- 6.10 Жесткость воды
- 6.11 Автовыключение (режим ожидания)
- 6.12 Выбор языка
- 6.13 Экономия энергии
- 6.14 Звуковой сигнал
- 6.15 Настройка профиля
- 6.16 Статистика
- 6.17 Информация о машине
- 6.18 Заводские параметры
- 7. ПРИГОТОВЛЕНИЕ КОФЕ
- 8. КОФЕЙНЫЙ ГРАФИН
- 9. ПРИГОТОВЛЕНИЕ ГОРЯЧИХ НАПИТКОВ С МОЛОКОМ
- 9.1 Какое молоко использовать?
- 9.2 Наполните и вставьте кувшин для молока
- 9.3 Выбор крепости кофе или использование предварительно молотого кофе
- 9.4 Регулировка количества пены
- 9.5 Автоматическое приготовление капучино и напитков на основе молока
- 9.6 Очистка кувшина для молока после каждого использования
- 10. ПОДАЧА ГОРЯЧЕЙ ВОДЫ
- 11. ИНДИВИДУАЛЬНЫЙ ПОДБОР НАПИТКОВ
- 12. ОЧИСТКА
- 12.1 Очистка кофемашины
- 12.2 Очистка внутренней системы машины
- 12 .4 Очистка поддона для капель и лотка для сбора конденсата
- 12.5 Чистка внутренней части машины Опасность электрических поражений!
- 12.6 Очистка бачка для воды
- 12.7 Очистка носиков узла подачи кофе
- 12.8 Очистка воронки для засыпки молотого кофе
- 12.9 Очистка заварочного узла
- 12.10 Очистка кувшина для молока
- 12.11 Очистка распылителя горячей воды
- 13. УДАЛЕНИЕ НАКИПИ
- 14. НАСТРОЙКА ЖЕСТКОСТИ ВОДЫ
- 15. ФИЛЬТР СМЯГЧЕНИЯ ВОДЫ
- 16. ТЕХНИЧЕСКИЕ ДАННЫЕ
- 17. СООБЩЕНИЯ, ОТОБРАЖАЕМЫЕ НА ДИСПЛЕЕ
- 18. УСТРАНЕНИЕ НЕИСПРАВНОСТЕЙ
1. ВВЕДЕНИЕ
Благодарим вас за выбор автомата для приготовления кофе и капучино.
А сейчас уделите несколько минут для ознакомления с данными инструкциями по применению. Таким образом вы сможете обеспечить безопасность и сохранность аппарата.
1.1 Буквы в скобках
Буквы в скобках соответствуют обозначениям, приведенным в параграфе «Описание прибора» (стр. 2-3).
1.2 Проблемы и их устранение
При возникновении неисправностей в первую очередь попытайтесь их устранить согласно положениям из главы «17. Сообщения, отображаемые на дисплее» и «18. Устранение неисправностей».
Если это не решит проблему или вам нужна дополнительная информация, вам следует обратиться в службу поддержки клиентов. Дополнительную информацию см. на сайте de-longhi.com.
2. ОПИСАНИЕ
2.1 Описание прибора (стр. 2 — A)

- A1. Крышка контейнера для зерен
- A2. Крышка воронки для предварительно молотого кофе
- A3. Контейнер для зерен
- A4. Воронка для засыпки предварительно молотого кофе
- A5. Рукоятка регулировки степени помола
- A6. Подогрев чашек
- A7. Кнопка (_[): включение или выключение кофемашины (режим ожидания)
- A8. Форсунка горячей воды/пара
- A9. Узел подачи кофе (регулируется по высоте)
- A10. Лоток для сбора конденсата
- A11. Контейнер для кофейной гущи

- A12. Подставка для чашек
- A13. Индикатор уровня воды в поддоне для сбора капель
- A14. Решетка поддона
- A15. Поддон для сбора капель
- A16. Крышка бачка для воды
- A17. Бачок для воды
- A18. Место расположения фильтра смягчения воды
- A19. Дверца заварочного узла
- A20. Заварочный узел
- A21. Шнур питания
2.2 Описание домашней страницы (главное окно) (стр. 3 — B)
- B1. Символ активного режима энергосбережения
- B2. Выбранная крепость
- B3. Напитки прямого выбора
- B4. Стрелка перехода
- B5. Выбранный объем
- B6. Аварийный сигнал необходимости удаления накипи
- B7. Аварийный сигнал необходимости очистки кувшина для молока
- B8. Аварийный сигнал отработанного фильтра

2.3 Описание панели управления (стр. 3 — C)
- C1. Меню кофейных напитков
- C2. Меню молочных напитков
- C3.
: меню настроек прибора - C4.
: меню выбора профиля - C5.
: выбор крепости напитка - C6.
: выбор объема напитка
2.4 Описание приспособлений (стр. 3 — D)

- D1. Индикаторная полоска Total Hardness Test
- D2. Мерная ложка для предварительно молотого кофе
- D3. Средство для удаления накипи (в некоторых моделях)
- D4. Фильтр для смягчения воды (в некоторых моделях)
- D5. Кисточка для очистки (в некоторых моделях)
- D6. Узел подачи горячей воды
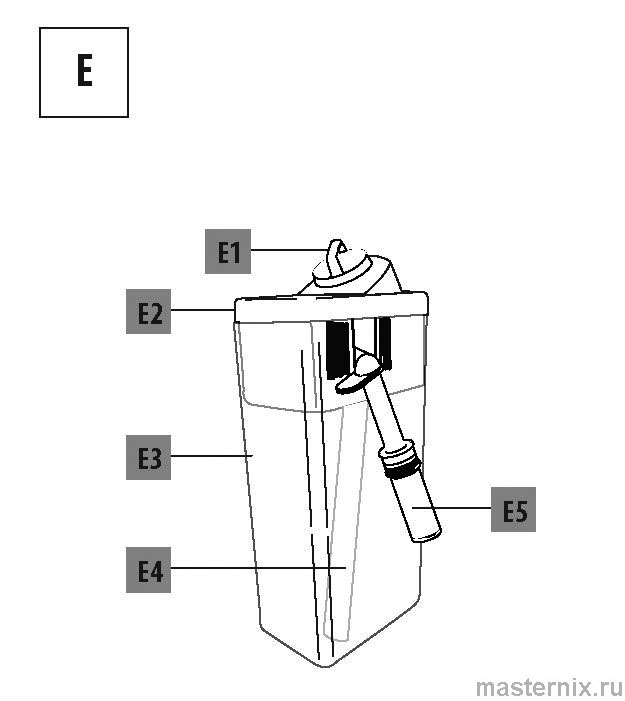
2.5 Описание кувшина для молока (стр. 3 - E)

- E1. Регулятор плотности пены и функции CLEAN
- E2. Крышка кувшина для молока
- E3. Кувшин для молока
- E4. Трубка всасывания молока
- E5. Трубка подачи молочной пены (регулируется)
3. ПЕРВОЕ ВКЛЮЧЕНИЕ ПРИБОРА
Примечание
- При первом включении гидросистема пуста, поэтому машина может издавать повышенный шум. Шум будет уменьшаться по мере заполнения гидросистемы.
- Кофемашина прошла проверки на предприятии-изготовителе с использованием кофе, поэтому следы кофе в кофемолке являются нормальным явлением. При этом гарантируется, что машина новая. При первом использовании прибора все съемные принадлежности (кувшин для молока (E3-E2), бачок для воды (A17) и (A16), предназначенные для контакта с водой или молоком, необходимо промыть горячей водой.
- Рекомендуется как можно быстрее отрегулировать жесткость воды путем выполнения процедуры, описанной в главе «14. Настройка жесткости воды».
1. Подключите прибор к электросети (рис. 1).


- 2. На дисплее отобразятся доступные языки и соответствующие флаги. Выберите требуемый язык.
- 3. Достаньте бачок для воды (A17) (рис. 2), залейте свежую питьевую воду до отметки MAX на бачке (рис. 3). Установите бачок на место (рис. 4).
- 4. Убедитесь, что узел подачи горячей воды (D6) вставлен на форсунку (A8) (рис. 5) и установите емкость объемом минимум 200 мл под узлом подачи кофе (А9), а затем подайте горячую воду (рис. 6).
- 5. Нажмите
для подтверждения. Прибор подает воду из узла подачи для заполнения водяного контура. - 6. После завершения подачи машина продолжает нагрев и выполняет ополаскивание горячей водой на выходе из узла подачи кофе.
Теперь кофемашина готова к обычному использованию.
Примечание
При первом включении необходимо приготовить 4-5 порций капучино, чтобы добиться удовлетворительных результатов. Шум кипящей воды является нормальным явлением, со временем уровень шума понизится.
Чтобы добиться наилучших результатов от прибора, рекомендуется установить фильтр смягчения воды (D4), следуя инструкциям из главы «15. Фильтр смягчения воды». Если в имеющемся у вас кофейном автомате нет фильтра, его можно заказать в уполномоченных сервисных центрах De’Longhi.

4. ВКЛЮЧЕНИЕ ПРИБОРА
При каждом включении прибор автоматически выполняет цикл предварительного нагрева и ополаскивания, который нельзя прерывать. Машина будет готова к использованию только после выполнения такого цикла.
- 1. Для включения прибора нажмите кнопку
(A7) (рис. 7). - 2. После окончания нагрева начинается процесс ополаскивания теплой водой на выходе узла подачи кофе (А9). Таким образом, кроме нагрева бойлера, прибор нагреет внутренние контуры горячей водой.
Прибор готов к использованию, когда появятся рецепты (главная страница).
5. ВЫКЛЮЧЕНИЕ ПРИБОРА
Если до этого готовился кофе, каждый раз при выключении выполняется автоматическое ополаскивание.
Опасность ожогов!
Во время ополаскивания из носиков узла подачи кофе (A9) выходит некоторое количество горячей воды.
Следите за тем, чтобы на вас не попали брызги воды. Чтобы избежать частого опорожнения поддона для капель (А15), поместите под узел подачи кофе емкость для сбора промывочной воды.
- 1. Чтобы выключить прибор, нажмите кнопку
(A7) (рис. 7). - 2. Если это предусмотрено, прибор выполнит ополаскивание а затем отключится (перейдет в режим ожидания).
5.1 Выключение на длительный период
Если прибор не используется в течение длительного времени (напр., на время отпуска), выполните следующее:
- сначала выключите прибор нажатием кнопки
(рис. 7); - опорожните и очистите контейнер для кофейной гущи (А11), поддон для сбора капель (А15) и бачок для воды (А17);
- отсоедините шнур питания (А21) от розетки.
Примечание
При повторном включении машины и перед приготовлением любого напитка наполните бачок для воды и выполните 1 цикл промывки, как указано в разделе «7.3 Промывка» (для очистки внутреннего контура).
Внимание!
Всегда выключайте прибор кнопкой
(режим ожидания).
Запрещено извлекать вилку из розетки, не выключив прибор.
6. МЕНЮ НАСТРОЕК
6.1 Доступ к меню
- 1. Нажмите кнопку
(C3) для входа в меню. - 2. Прокрутите страницы меню, нажав
до - отображения требуемого пункта.
- 3. Нажмите на нужную позицию меню.
6.2 Выход из меню
Послевыполнения необходимых настроек нажмите
для возврата на главную страницу.
6.3 Ополаскивание
С помощью данной функции можно слить горячую воду из узла подачи кофе (A9), чтобы очистить и нагреть внутреннюю систему машины.
- 1. Поместите под узлом подачи кофе емкость минимальным объемом 100 мл (рис. 8).
- 2. После выбора пункта «ОПОЛАСКИВАНИЕ», через несколько секунд, из узла подачи кофе выйдет горячая вода, которая очищает и нагревает внутренние каналы кофемашины (рис. 8).
- 3. Чтобы остановить ополаскивание, нажмите
или дождитесь автоматической остановки.
Примечание
Естественно, что после промывки в контейнере для кофейной гущи (A11) остается вода.
6.4 Удаление накипи
Инструкции по удалению накипи приводятся в главе «13.
Удаление накипи».
6.5 Очистка кувшина
Инструкции по очистке кувшина для молока (E3) приводятся в главе «15. Фильтр смягчения воды».
6.6 Программа MY
При нажатии кнопки
можно выбрать, в каком профиле настроить напиток (см. главу «11. Индивидуальный подбор напитков»).
6.7 Температура кофе
При необходимости изменения температуры воды подачи кофе выполните следующие действия:
- 1. Нажмите «ТЕМПЕРАТУРА КОФЕ»: на дисплее появятся значения для выбора (текущее значение подчеркнуто).
- 2. Нажмите на значение, которое хотите задать (НИЗКАЯ, СРЕДНЯЯ, ВЫСОКАЯ).
Примечание
Изменение температуры более эффективно в жидких напитках.
6.8 Параметры напитков
В данном разделе можно просмотреть индивидуальные настройки и при необходимости вернуться к заводским параметрам каждого отдельного напитка.
- 1. После входа в меню настроек нажмите «ПАРАМЕТРЫ НАПИТКОВ», на дисплее появится панель с параметрами первого напитка.
- 2. Параметры выводятся на вертикальных панелях: заводской параметр обозначен символом
, текущий заданный параметр обозначен заполнением вертикальной панели. - 3. Чтобы отобразить напитки, нажмите
. - 4. Чтобы привести к заводским параметрам напиток на экране дисплея, нажмите
. - 5. «ПОДТВЕРЖДАЕТЕ СБРОС?": чтобы подтвердить, нажмите
(для отмены нажмите
). - 6. «ЗАВОД. ПАРАМЕТРЫ ИЗМЕНЕНЫ»: нажмите
. - Напиток запрограммирован согласно заводским параметрам. Продолжайте настройку других напитков или вернитесь на главную страницу, нажав 2 раза
.
6.9 Фильтр для воды
Инструкции по установке фильтра (D4) приводятся в главе «15. Фильтр смягчения воды».
6.10 Жесткость воды
Инструкции по настройке жесткости воды приводятся в главе «14. Настройка жесткости воды».
6.11 Автовыключение (режим ожидания)
Автоматическое выключение можно задать так, чтобы прибор отключался через 15 или 30 минут, 1, 2 или 3 часа простоя.
Чтобы запрограммировать автоматическое выключение, действуйте следующим образом:
- 1. Нажмите «АВТОВЫКЛЮЧЕНИЕ».
- 2. Выберите нужныйпромежуток времени с помощью стрелок выбора
(увеличение) или(уменьшение) значения.
- 3. Для подтверждения нажмите
.
Таким образом автоматическое выключение запрограммировано.
6.12 Выбор языка
При необходимости сменить язык дисплея действуйте следующим образом:
- 1. Нажмите «ВЫБЕРИТЕ ЯЗЫК».
- 2. Нажмите флажок языка, который вы хотите выбрать (нажмите
для отмены операции).
6.13 Экономия энергии
С помощью этой функции можно подключить или отключить режим энергосбережения. Подключенная функция гарантирует меньшие энергозатраты в соответствии с действующими европейскими нормами.
- Для отключения или подключения режима экономии энергии действуйте следующим образом:
- Нажмите «ЭКОНОМИЯ ЭНЕРГИИ» чтобы отключить ( ) или включить (
) функцию. - На верхней панели главной страницы появится соответствующий символ (B1), обозначающий подключение функции.
Примечание
Когда включен режим энергосбережения, подача может потребовать нескольких секунд.
6.14 Звуковой сигнал
При помощи этой функции включается или отключается звуковой сигнал, который машина издает при нажатии на значки и при каждой установке/снятии принадлежностей. Для отключения или подключения звукового сигнала действуйте следующим образом: ![]()
1. Нажмите «ЗВУКОВОЙ СИГНАЛ», чтобы отключить (
) или подключить(
) функцию.
6.15 Настройка профиля
Чтобы настроить значок текущего профиля, выполните следующее:
- 1. Нажмите «НАСТРОЙКА ПРОФИЛЯ».
- 2. Выберите необходимый значок (нажмите
, чтобы отобразить все доступные значки).
6.16 Статистика
Эта функция отображает статистические данные машины.
Чтобы вывести на дисплей такие данные:
Нажмите «СТАТИСТИКА» и проверьте все статистические данные, листая позиции с помощью
.
6.17 Информация о машине
С помощью этой функции отображается серийный номер машины. Чтобы просмотреть его, нажмите «ИНФОРМАЦИЯ О МАШИНЕ». (нажмите
, чтобы отменить операцию).
6.18 Заводские параметры
С помощью этой функции восстанавливаются все настройки меню, а все индивидуальные настройки пользователя возвращаются к заводским настройкам (кроме языка, который остается заданным).
Для восстановления заводских параметров выполните следующие действия:
1. Нажмите «ЗАВОДСКИЕ НАСТРОЙКИ»: на дисплее отобразится сообщение «УСТАНОВЛЕННЫЕ ЗАВОДСКИЕ ЗНАЧЕНИЯ»: нажмите
ддя подтверждения (или нажмите
для отмены операции).
2. «УСТАНОВЛЕННЫЕ ЗАВОДСКИЕ ЗНАЧЕНИЯ»: нажмите
для подтверждения.
7. ПРИГОТОВЛЕНИЕ КОФЕ
7.1 Приготовление кофе из кофейных зерен
Внимание!
Не используйте зеленые, засахаренные зерна или караме-лизированный кофе, поскольку они могут приклеиться к кофемолке и вывести ее из строя.
1. Засыпьте кофейные зерна в специальный контейнер (A3) (рис. 9).

2. Поместите чашку под узлом подачи кофе (A9) (рис. 8).
3. Опустите узел подачи таким образом, чтобы он приблизился к чашке как можно больше (рис. 10). Так получится лучшая пенка.
4. Выберите желаемый кофе:

5. Начнется приготовление, на дисплее появится изображение выбранного напитка и растущая шкала, которая отображает процесс приготовления.
Примечание
Нажимайте на стрелки прокрутки
для просмотра всех напитков. Можно одновременно приготовить 2 чашки ESPRESSO нажатием “2X
“ во время приготовления 1 чашки Espresso (изображение сохраняется на несколько секунд после начала приготовления).
В процессе приготовления прибором кофе подачу можно остановить в любой момент нажатием
.
Если сразу после завершения подачи вы хотите увеличить количество подаваемого кофе, достаточно нажать i
. Когда нужное количество достигнуто, нажмите кнопку
.
После завершения процесса приготовления прибор готов для дальнейшего использования.
Примечание
В процессе работы на дисплее появляются некоторые сообщения (ЗАЛЕЙТЕ ВОДУ, ОЧИСТИТЕ КОНТЕЙНЕР ДЛЯ ГУЩИ и др.), чьи значения приводятся в главе «17. Сообщения, отображаемые на дисплее».
Для получения более горячего кофе рекомендуется смотрите раздел «7.6 Советы для получения более горячего кофе».
Если кофе выходит каплями, слишком жидкий, с небольшим количеством пенки или слишком холодный, см. рекомендации в параграфе «7.5 Регулировка кофемолки» и в главе «18. Устранение неисправностей».
Каждый кофейный напиток можно подобрать индивидуально (см. главу «11. Индивидуальный подбор напитков»).
7.2 Выбор крепости кофе
Нажмите кнопку
(C5):


После подачи настройка крепости вернется к значению
.
7.3 Выбор количества кофе
Нажмите кнопку
(C6):

После подачи настройка количества вернется к значению ![]()
7.4 Приготовление кофе из предварительно молотого кофе
Внимание!
- Никогда не засыпайте молотый кофе в выключенный прибор, чтобы предотвратить его попадание внутрь машины и ее загрязнение. Это может привести к повреждению прибора.
- Никогда не засыпайте более 1 мерной ложки (D2), это может привести к загрязнению кофемашины изнутри или к засорению воронки (A4).
D1. При использовании предварительно молотого кофе можно приготовить одновременно только одну чашку кофе.
1. Нажимайте кнопку
(C5), пока на дисплее не появится «
» (предварительно молотый кофе).
2. Выберите желаемый кофе:
- ESPRESSO
- LONG
- КОФЕ
- 2X ESPRESSO
- ESPRESSO LUNGO
- МАЛЕНЬК. ЧАШКА
- DOPPIO+
- VERLANGERTER
- AMERICANO
3. «ЗАСЫПЬТЕ МОЛОТЫЙ КОФЕ МАКС. ОДНУ МЕРНУЮ ЛОЖКУ»: откройте крышку воронки для предварительно молотого кофе (A2).
4. Убедитесь в том, что воронка (A4) не закупорена, затем засыпьте одну мерную ложку предварительно молотого кофе (рис. 11).

5. Поместите одну чашку под носиками узла подачи кофе (A9) (рис. 10).
6. Нажмите
. Начнется приготовление, на дисплее появится изображение выбранного напитка и растущая шкала, которая отображает процесс приготовления.
После завершения процесса приготовления прибор готов для дальнейшего использования.
Внимание! Во время приготовления кофе LONG
В средине процесса приготовления машина запросит добавить еще одну мерную ложку без горки предварительно молотого кофе: выполните и нажмите
.
7.5 Регулировка кофемолки
В начале использования нет необходимости регулировать кофемолку, так как она уже настроена на заводе для правильной подачи кофе.
Однако если после приготовления первых чашек кофе отмечается мало насыщенная подача, отсутствие пенки либо слишком медленная подача кофе , следует откорректировать с помощью регулятора степени помола (A5) (рис. 12).

Примечание
Рукоятку регулировки следует вращать только тогда, когда кофемолка в работе на начальном этапе приготовления кофейных напитков.

Если кофе выходит медленно или не выходит вообще, поверните рукоятку на один щелчок по часовой стрелке к номеру 7.
Чтобы кофе выходил более насыщенным и с лучшей пенкой, поверните рукоятку на один щелчок против часовой стрелки к номеру 1 (не более чем на один щелчок за раз, иначе кофе будет выходить по каплям).
Желаемый результат такой корректировки вы почувствуете только после приготовления 2 последующих чашек кофе. Если даже после регулировки желаемый результат не достигнут, необходимо повторить процедуру, повернув рукоятку еще на один щелчок.
7.6 Советы для получения более горячего кофе
Для получения более горячего кофе рекомендуется:
- выполнить ополаскивание, выбрав функцию «Ополаскивание» (см. параграф «6.3 Ополаскивание
»); - нагреть чашки горячей водой (используйте функцию горячей воды, см. главу «10. Подача горячей воды»);
- увеличить выбранную настройку температуры кофе (см. параграф «6.7 Температура кофе
»). Изменение температуры более эффективно в жидких напитках.
8. КОФЕЙНЫЙ ГРАФИН
Этот напиток на основе кофе эспрессо является легким и сбалансированным рецептом с небольшим слоем пенки. Напиток идеально подходит для совместного времяпрепровождения.
Чтобы приготовить напиток, выполните следующие действия:

(*) Приведенное количество является примерным и может меняться в зависимости от типа кофе.
- 1. Нажмите «КОФЕЙНЫЙ ГРАФИН»,
- 2. Выберите крепость и количество чашек.
- 3. Нажмите
для перехода к следующему этапу. - 4. «ЗАЛЕЙТЕ ВОДУ И НАПОЛНИТЕ К-НЕР ДЛЯ ЗЕРЕН»: наполните бачок для воды (А17) и емкость для зерен (А3) (рис. 9), как указано на дисплее. Убедившись, что количество воды и кофе достаточны для приготовления, нажмите
. - 5. «ПОМЕСТИТЕ ГРАФИН ПОД УЗЛЫ ПОДАЧИ». Поместите графин под узел подачи кофе (A9). При выборе графина учитывайте количество подачи.
- 6. Нажмите
: через несколько секунд авто матически начнется приготовление, на дисплее появится изображение выбранного напитка и растущая шкала, которая отображает процесс приготовления.
Примечание
•
: нажмите, если хотите полностью остановить приготовление и вернуться на главную страницу.

ПРЕДУПРЕЖДЕНИЕ ПО БЕЗОПАСНОСТИ. После приготовления графина кофе дайте машине остыть 5 минут перед приготовлением других напитков. Опасность перегрева!
9. ПРИГОТОВЛЕНИЕ ГОРЯЧИХ НАПИТКОВ С МОЛОКОМ
Примечание
Во избежание получения слабо вспененного молока или больших пузырьков всегда очищайте крышку кувшина для молока (E2) и форсунку горячей воды (A8) как описано в разделах «12.10 Очистка кувшина для молока» и «12.11 Очистка распылителя горячей воды».
9.1 Какое молоко использовать?
Количество пены может изменяться в зависимости:
- от температуры молока или растительного напитка (для получения наилучшего результата всегда используйте молоко или растительные напитки при температуре + 5 °C);
- от типа молока или растительного напитка;
- от использованной марки;
- от ингредиентов и пищевой ценности.

9.2 Наполните и вставьте кувшин для молока
1. Снимите крышку (E2) (рис. 13).
2. Наполните кувшин для молока (E3) достаточным количеством молока, не превышая отметку уровня MAX на кувшине (рис. 14). Имейте в виду, что каждая метка на боковой стороне кувшина соответствует примерно 100 мл молока.

3. Убедитесь, что трубка забора молока (E4) хорошо вставлена на свое место на дне крышки кувшина для молока (рис. 15).

4. Установите на место крышку кувшина для молока.
5. Если есть, извлеките узел подачи горячей воды (D6).
6. Закрепите путем установки до упора кувшин для молока (Е) на форсунку (A8) (рис. 16). Машина подаст звуковой сигнал (если подключена функция звукового предупреждения).
7. Поставьте достаточно большую чашку под носики узла подачи кофе (A9) и под трубку подачи молочной пены (E5). Отрегулируйте длину трубки подачи молока, просто потянув ее вниз к чашке (рис. 17).

8. Следуйте приведенным далее указаниям для каждой конкретной функции.
Примечание
При подключенном режиме «Экономия энергии» может потребоваться несколько секунд для начала подачи напитка.
9.3 Выбор крепости кофе или использование предварительно молотого кофе
После подготовки кувшина для молока, перед выбором желаемого напитка на основе молока, можно изменить крепость кофе с индивидуальными настройками, как описано в разделе «7.2 Выбор крепости кофе» (и в этом случае добавьте мерную ложку кофе, как указано в разделе «7.4 Приготовление напитка с молотым кофе»).
9.4 Регулировка количества пены
Поворотом регулятора плотности пены (E1) выбирается количество и тип молочной пены, которая подается во время приготовления молочных напитков.

9.5 Автоматическое приготовление капучино и напитков на основе молока
1. Наполните и установите кувшин для молока (Е), как указано ранее.
2. Выберите желаемый напиток:
- CAPPUCCINO
- LATTE MACCHIATO
- MILK (ГОРЯЧЕЕ МОЛОКО)
- CAPPUCCINO+
- CAPPUCCINO MIX
- CAFFELATTE
- FLAT WHITE
- ESPRESSO MACCHIATO
- CAFE' CON LECHE
- CAFE' AU LAIT
- CORTADO
- GALAO
3. На дисплее машины рекомендуется повернуть ручку регулировки пены (E1) в зависимости от типа пены, который предусмотрен по первоначальному рецепту. Поверните ручку на крышке кувшина для молока в положение, отображаемое на дисплее.
4. Через несколько секунд автоматически начнется приготовление, на дисплее появится изображение выбранного напитка и растущая шкала, которая отображает процесс приготовления.
После завершения процесса приготовления прибор готов для дальнейшего использования.
Примечание. Общие указания для приготовления всех напитков на основе молока
•
: нажмите, если хотите полностью остановить приготовление и вернуться на главную страницу. •
: нажмите, чтобы прервать подачу молока или кофе и перейти к следующей подаче (если предусмотрена) для завершения напитка.
Приготовление каждого молочного напитка может выполняться по индивидуальным параметрам (см. главу «11. Индивидуальный подбор напитков»).
9.6 Очистка кувшина для молока после каждого использования

После каждого использования молочных функций выводится запрос «УСТАНОВИТЕ РЕГУЛЯТОР НА CLEAN». Необходимо выполнить очистку крышки кувшина для молока:
- 1. Оставьте кувшин для молока (Е) в машине (нет необходимости опорожнять кувшин для молока).
- 2. Поместите чашку или другую емкость под трубкой подачи молочной пены.
- 3. Поверните ручку регулировки пены (E1) на CLEAN (рис. 18), на дисплее появится сообщение «ИДЕТ ОЧИСТКА, ЕМКОСТЬ ПОД УЗЕЛ ПОДАЧИ» вместе со шкалой, которая растет по мере выполнения очистки. Из трубки подачи вспененного молока начнет поступать пар, смешанный с горячей водой (рис. 19). Очистка остановится автоматически.

- 4. Установите ручку регулировки на один из уровней плотности пены.
- 5. Снимите кувшин для молока и очистите форсунку горячей воды (A8) губкой (рис. 20).
В случае нескольких приготовлений подряд:
- Выполните очистку кувшина для молока после последнего цикла приготовления.
- По окончании приготовления кувшин для молока пуст или молока недостаточно для приготовления других напитков.
- После выполнения очистки, установив ручку регулировки пены (E1) в положение CLEAN, снимите кувшин для молока и очистите все компоненты согласно процедуре, указанной в параграфе 12.10. Очистка кувшина для молока
По окончании приготовления имеется достаточно молока в кувшине для приготовления других напитков
- После завершения очистки, установив ручку регулировки пены (E1) установлена в положение «CLEAN», снимите кувшин для молока и немедленно поместите его в холодильник. Кувшин нельзя хранить в холодильнике более 2 суток, поэтому очистите все детали, действуя, как описано в разделе «12.10. Очистка кувшина для молока»

Общие указания после приготовления молочных напитков
Важно! Если кувшин для молока находится вне холодильника более чем 30 минут, снимите и очистите все компоненты согласно процедуре из раздела «13.10. Очистка кувшина для молока».
Если кувшин для молока не очищается, на главной странице появляется символ
(B7), чтобы напомнить о необходимости очистки.
В некоторых случаях перед очисткой машина должна разогреться.
Чтобы обеспечить правильную очистку, дождитесь завершения функции очистки. Эта функция является автоматической, и ее нельзя прерывать во время навигации.
10. ПОДАЧА ГОРЯЧЕЙ ВОДЫ
- 1. Проверьте правильность крепления узла подачи горячей воды (D6) на распылителе горячей воды (A8).
- 2. Установите под узлом подачи чашку.
- 3. Нажмите «ГОРЯЧАЯ ВОДА», на дисплее появится соответствующее изображение и растущая шкала, которая отражает ход приготовления.
- 4. Машина подаст горячую воду, а затем автоматически остановит подачу. Чтобы вручную прервать подачу горячей воды, нажмите
.
Примечание
- При подключенном режиме «Экономия энергии» может потребоваться несколько секунд для начала подачи горячей воды.
- Приготовление горячей воды может выполняться по индивидуальным параметрам (см. главы «11. Индивидуальный подбор напитков»).
11. ИНДИВИДУАЛЬНЫЙ ПОДБОР НАПИТКОВ
Крепость (для напитков, для которых она предназначена) и объема напитков можно настроить следующим образом:
Для доступа нажмите кнопку
(С3). Прокрутите, чтобы выбрать
.
- 1. Выберите требуемый профиль.
- 2. Выберите напиток, который вы хотите персонализировать: должны быть вставлены соответствующие принадлежности.
- 3. Только для кофейных напитков выберите нужную крепость, нажав «-» или «+», и нажмите
. - 4. Начинается приготовление, и на дисплее отображается напиток с вертикальной полосой. Звездочка рядом со шкалой означает текущие настройки количества.
- 5. Когда количество достигает минимально возможной настройки, на дисплее появляется
(нажмите
для отмены). - 6. Нажмите
, когда в чашке достигнуто нужное количество. - 7. Нажмите
, чтобы сохранить (или
для отмены). - 8. Прибор подтвердит сохранение или несохранение параметров (в зависимости от выбранной опции), нажмите
. - 9. Прибор возвращается к главной странице.
Примечание
Напитки на основе молока: сначала отрегулируйте крепость кофе, затем количество молока (левая панель), потом количество кофе (правая панель).
Горячая вода: прибор подает горячую воду, нажмите
для сохранения нужного количества.
Выйти из режима программирования можно нажатием
: значения не будут сохранены.
12. ОЧИСТКА
12.1 Очистка кофемашины
Периодической очистке подлежат следующие части прибора:
- внутренний контур машины;
- контейнер для кофейной гущи (A11);
- поддон для сбора капель (A15), лоток для сбора конденсата (A10), решетка поддона (A14) и индикатор заполненного поддона (A13);
- бачок для воды (A17);
- носики узла подачи кофе (A9);
- воронка для засыпки предварительно молотого кофе (A4);
- заварочный узел (A20), доступен после открытия служебной дверцы (A19);
- кувшин для молока (Е);
- форсунка горячей воды (A8);
- панель управления (С).
Внимание!
- Не используйте для чистки кофемашины растворите ли, абразивные моющие средства или спирт. Суперавтоматы De’Longhi не требуют использования химических добавок для очистки.
- Ни один из компонентов прибора не предназначен для мойки в посудомоечной машине, за исключением решетки поддона (A14), кувшина для молока (Е) и поддона для сбора капель (А15).

Не используйте металлические предметы для удаления накипи или отложений кофе, поскольку они могут поцарапать металлические или пластмассовые поверхности.
12.2 Очистка внутренней системы машины
В случае простоя более 3-4 дней настоятельно рекомендуется перед повторным использованием опорожнить бачок для воды и наполнить его свежей питьевой водой, включить машину и выполнить 1 промывку, выбрав функцию «Промывка» (раздел «6.3 Ополаскивание
»).
Примечание
Естественно, что после выполнения данной очистки остается вода в контейнере для кофейной гущи (A11).
12.3 Очистка контейнера для кофейной гущи Когда на дисплее появляется «ОЧИСТИТЕ КОН-ЕР ДЛЯ ГУЩИ», необходимо опустошить и очистить контейнер. Пока контейнер для кофейной гущи (A11) не вставлен, машина не может приготовить кофе. Прибор сообщает о необходимости очистить контейнер, даже если он еще не наполнился, если прошли 72 часа после первого приготовления (чтобы отсчет 72 часов был правильным, машина должна быть всегда подключена к электропитанию).
Внимание! Опасность ожогов
Если последовательно готовятся несколько молочных напитков, металлическая подставка для чашек (A12) нагревается. Дождитесь ее охлаждения и берите ее только за переднюю часть.
Чтобы выполнить очистку (на включенном приборе):
- 1. Достаньте поддон для сбора капель (A15) и контейнер для гущи (А11) (рис. 21).
- 2. Опорожните и тщательно очистите поддон для сбора капель и контейнер для кофейной гущи. Старайтесь удалить все остатки, которые могут скапливаться на дне. На кисточке из комплекта поставки (D5) имеется шпатель, подходящий для таких действий.
- 3. Проверьте состояние лотка для сбора конденсата (A10) поддона красного цвета и слейте его при необходимости.
- 4. Поставьте на место поддон для сбора капель вместе с решеткой и контейнером для кофейной гущи.
Внимание!
При извлечении поддона для сбора капель обязательно опорожняйте и контейнер для кофейной гущи, даже если он почти не заполнен. Если не выполнять такую операцию, то при последующих приготовлениях кофе контейнер для гущи переполнится, что приведет к засорению кофемашины.
12 .4 Очистка поддона для капель и лотка для сбора конденсата
Внимание!
Поддон для сбора капель (A15) снабжен индикатором-поплавком красного цвета (A13) уровня воды (рис. 22). Поддон следует слить и очистить до того, как индикатор начнет выходить за пределы подставки для чашек (A12). В противном случае вода может перелиться через край и повредить машину, опорную поверхность или окружающую зону.
Для извлечения поддона для сбора капель выполните следующее:
- 1. Извлеките поддон для сбора капель и контейнер для кофейной гущи (A11) (рис. 21).
- 2. Снимите подставку для чашек (A12), решетку поддона (A14), затем слейте поддон для сбора капель и опорожните контейнер для гущи, вымойте все компоненты.
- 3. Проверьте состояние лотка для сбора конденсата (A10) поддона красного цвета и слейте его при необходимости;
- 4. Поставьте на место поддон для сбора капель вместе с решеткой, подставкой и контейнером для кофейной гущи.
Внимание!
При извлечении поддона для сбора капель обязательно опорожняйте и контейнер для кофейной гущи, даже если он почти не заполнен. Если не выполнять такую операцию, то при последующих приготовлениях кофе контейнер для гущи переполнится, что приведет к засорению кофемашины.
12.5 Чистка внутренней части машины Опасность электрических поражений!
Перед выполнением любой операции по очистке внутренних частей необходимо выключить прибор (см. «5. Выключение прибора») и отсоединить его от электросети. Ни в коем случае не опускайте прибор в воду.
1. Периодически (примерно раз в месяц) проверяйте чистоту машины изнутри (для этого достаточно извлечь поддон для сбора капель) и контейнера для кофейной гущи (A11). При необходимости удалите кофейные отложения кисточкой (D5) из комплекта поставки и губкой.
2. Соберите все остатки пылесосом (рис. 23).

3. Поставьте на место поддон для сбора капель, решетку, подставку и контейнер для кофейной гущи.
12.6 Очистка бачка для воды
Периодически (один раз в месяц) и при каждой замене фильтра смягчения воды (D4) (если предусмотрен) очищайте бачок для воды (A17).
- 1. Извлеките бак для воды (рис. 2).
- 2. Снимите фильтр (если имеется) и ополосните его под проточной водой.
- 3. Опорожните бачок для воды и промойте его горячей водой чистой неабразивной тканью. Промойте большим количеством воды.
- 4. Вставьте на место фильтр (если предусмотрен), заполните бачок свежей питьевой водой до уровня МАХ и вставьте бачок на место.
- 5. (Только модели с фильтром смягчения воды) Подайте около 100 мл горячей воды для активации фильтра.
Примечание
В случае простоев свыше 3-4 дней рекомендуется выполнить очистку бачка, как указано выше.
12.7 Очистка носиков узла подачи кофе
- 1. Периодически очищайте узел подачи кофе (А9) чистой губкой или тряпкой (рис. 24А).
- 2. Проверяйте, чтобы отверстия узла подачи кофе не были закупорены. При необходимости удалите кофейные отложения зубочисткой (рис. 24В).
12.8 Очистка воронки для засыпки молотого кофе
Периодически (примерно один раз в месяц) выполняйте очистку воронки для засыпки предварительно молотого кофе (A4). Выполните следующие действия:
- 1. Выключите машину (см. главу «5. Выключение прибора»).
- 2. Откройте дверцу воронки (А2).
- 3. Очистите воронку с помощью кисточки, входящей в комплект (D5) (при наличии).
- 4. Откройте дверцу (А19) (рис. 25) сбоку справа.
Внимание!
После очистки убедитесь, что в воронке отсутствуют какие-либо принадлежности. Наличие посторонних предметов внутри воронки при работе может повредить машину.
12.9 Очистка заварочного узла
Заварочный узел (A20) необходимо чистить не реже одного раза в месяц.
Внимание!
Нельзя вынимать заварочный узел, когда прибор включен.
- 1. Убедитесь в том, что прибор правильно выполнил процедуру отключения (см. главу «5. Выключение прибора»).
- 2. Извлеките бачок для воды (A17) (рис. 2).
- 3. Откройте дверцу (A19) (рис. 25), которая находится сбоку справа.

- 4. Нажмите вовнутрь две цветные кнопки расцепления и одновременно потяните заварочный узел наружу (рис. 26).
- 5. Опустите примерно на 5 минут заварочный узел в воду, затем промойте его под краном.
Внимание!
ОПОЛАСКИВАТЬ ТОЛЬКО ВОДОЙ.
ЗАПРЕЩЕНЫ МОЮЩИЕ СРЕДСТВА. ЗАПРЕЩЕНА МОЙКА В ПОСУДОМОЕЧНОЙ МАШИНЕ
- 6. Очистите заварочный узел без использования моющих средств, чтобы не повредить его.
- 7. Кисточкой (D5) (если имеется) очистите гнездо заварочного узла от остатков кофе, которые можно увидеть через дверцу (А19).
- 8. После очистки вставьте на место заварочный узел, заведя его в опору (рис. 27). Потом нажмите на PUSH до щелчка.

Примечание.
Если заварочный узел вставляется с трудом, необходимо (перед установкой на место) придать ему нужный размер, нажав на два рычага, как показано на рисунке 28.

- 9. После ввода узла убедитесь в том, что две цветные кнопки вышли наружу (рис. 29).
- 10. Закройте дверцу заварочного узла.
- 11. Установите на место бачок для воды.
12.10 Очистка кувшина для молока
Очищайте кувшин для молока (Е) как описано ниже:
- 1. Снимите крышку (E2).
- 2. Снимите трубку подачи молока, удлинитель (E5) и трубку всасывания молока (E4) (рис. 30).
- 3. Поверните против часовой стрелки регулятор пены (Е1) до позиции INSERT (рис. 31) и снимите, потянув вверх.

- 4. Вымойте в посудомоечной машине (рекомендуется) или вручную, как указано ниже:
В посудомоечной машине: Промойте все компоненты, описанные выше, и кувшин для молока горя-
чей проточной питьевой водой (минимум 40 °C), затем поместите их на верхнюю полку посудомоечной машины и запустите программу мойки при температуре 50 °C, например, ECO standard.
Вручную: Тщательно промойте все компоненты и кувшин для молока горячей проточной питьевой водой (минимум 40 °C), чтобы удалить видимые остатки молока, следя за тем, чтобы вода прошла через все отверстия в крышке (рис. 32А). Затем погрузите все компоненты не менее чем на 30 минут в горячую питьевую воду (не менее 40 °C) со средством для мытья посуды. Затем тщательно промойте под горячей питьевой водой все компоненты, как описано выше, протирая их руками по отдельности.

- 5. Следите, чтобы в выемке и в канале под рукояткой не было остатков молока. При необходимости прочистите
канал с помощью зубочистки (рис. 32B). - 6. Убедитесь также, что трубка всасывания молока и трубка подачи не засорены остатками молока.
- 7. Высушите все компоненты сухой чистой тканью.
- 8. Соберите все компоненты крышки.
- 9. Установите на место крышку кувшина для молока.
Примечание
Машина еженедельно напоминает о необходимости тщательной очистки кувшина для молока, предлагая правильную периодичность очистки.
12.11 Очистка распылителя горячей воды
После каждого приготовления молока очищайте распылитель (A8) губкой, удаляя все остатки с прокладок (рис. 20).
13. УДАЛЕНИЕ НАКИПИ
Внимание!
Перед использованием прочитайте инструкции и этикетки средства для удаления накипи, имеющиеся на упаковке (поставляется с некоторыми моделями и/или продается в авторизованных сервисных центрах).
Рекомендуется использовать только средство для удаления накипи De’Longhi. Использование неподходящих средств, а также нерегулярное удаление накипи могут вызвать неисправности, на которые не распространяется гарантия производителя.
Средство для удаления накипи может повредить деликатные поверхности. Если продукт случайно опрокинут, немедленно высушите.

Выполните удаление накипи, когда на дисплее появится сообщение «ТРЕБУЕТСЯ ОЧИСТКА ОТ НАКИПИ OK ДЛЯ НАЧАЛА (~30 мин)»: если хотите сразу приступить к удалению накипи, нажмите
и выполните действия начиная
с пункта 3.
Если вы хотите отложить удаление накипи, нажмите
: на дисплее символ
(В6) напоминает, что прибор нуждается в удалении накипи. (Сообщение будет появляться при каждом включении).
Для доступа в меню удаления накипи:
- 1. Нажмите кнопку
(СЗ)для входа в меню. - 2. Нажмите «УД-НИЕ НАКИПИ» и следуйте указаниям на дисплее.
- 3. «СНЯТЬ ФИЛЬТР ДЛЯ ВОДЫ» (рис. 33). Достаньте бачок для воды (A17), снимите фильтр для воды (D4) (если есть).
- 4. Вставьте узел подачи горячей воды (D6) рис. 5.

- 5. Опорожните бачок для воды. Нажмите
. - 6. «СРЕДСТВО ОТ НАКИПИ (УРОВЕНЬ А) И ВОДА (ДО УРОВНЯ В)». Залейте в бачок для воды средство для удаления накипи до уровня A (соответствует упаковке в 100 мл), обозначенного сбоку внутри бачка (рис. 34); затем добавьте воды (один литр) до уровня B (рис. 35);установите на место бачок для воды. Нажмите
. - 7. «ОПОРОЖНИТЕ ПОДДОН ДЛЯ КАПЕЛЬ» (рис. 21):
- 8. Снимите, слейте и установите на место поддон для сбора капель (A15) и контейнер для гущи (A11). Нажмите
. - 9. «ПОМЕСТИТЕ ЕМКОСТЬ 2 Л, ОК ДЛЯ НАЧАЛА»:
Поместите пустую емкость минимальным объемом 2 литра под узлом подачи горячей воды (D6) и под узлом подачи кофе (A9).

Внимание! Опасность ожогов
Из узла подачи горячей воды и из узла подачи кофе выходит горячая вода с кислотой. Следите за тем, чтобы на вас не попал такой раствор.
- 10. Нажмите
> для подтверждения ввода раствора для удаления накипи. На дисплее появится «ИДЕТ УДАЛЕНИЕ НАКИПИ, ПОЖАЛУЙСТА, ЖДИТЕ». Запускается программа удаления накипи, а раствор для удаления накипи выходит как из узла подачи горячей воды, так и из узла подачи кофе. Автоматически выполняется ряд ополаскиваний в установленные промежутки, чтобы удалить остатки отложений изнутри машины. - Примерно через 30 минут прибор прекращает удаление накипи.
- 11. «ОПОЛОСНИТЕ И ЗАЛЕЙТЕ ВОДУ ДО УРОВНЯ МАКС.» (рис. 3): теперь прибор готов для ополаскивания свежей питьевой водой. Опорожните емкость для сбора раствора для удаления накипи и извлеките бачок для воды, опорожните его, ополосните проточной водой, заполните свежей питьевой водой до отметки MAX и установите бачок на место.
- 12. «ПОМЕСТИТЕ ЕМКОСТЬ 2 Л, НАЖМИТЕ ОК ДЛЯ НАЧАЛА ОПОЛАСКИВАНИЯ» Поместите опорожненную емкость для сбора средства для удаления накипи под узлом подачи кофе и под узлом подачи горячей воды, нажмите
. - 13. Горячая вода выходит сначала из узла подачи кофе, а затем из узла подачи горячей воды. На дисплее появляется сообщение «ИДЕТ ОПОЛАСКИВАНИЕ, ПОЖАЛУЙСТА, ЖДИТЕ».
- 14. Когда вода в бачке закончилась, слейте емкость, использованную для сбора промывочной воды.
- 15. (Если фильтр был установлен) «УСТАНОВИТЬ ФИЛЬТР В ГНЕЗДО» (рис. 36). Нажмите
и извлеките бачок для воды. Вставьте, если он был ранее снят, фильтр смягчения воды.

- 16. «ОПОЛОСНИТЕ И ЗАЛЕЙТЕ ВОДУ ДО УРОВНЯ МАКС.» (рис. 3): заполните бачок свежей питьевой водой до уровня MAX.
- 17. «ВСТАВЬТЕ БАЧОК ДЛЯ ВОДЫ» (рис. 4): установите на место бачок для воды.
- 18. «ПОМЕСТИТЕ ЕМКОСТЬ 2 Л, НАЖМИТЕ ОК ДЛЯ НАЧАЛА ОПОЛАСКИВАНИЯ» Поместите пустую емкость, использованную для сбора раствора удаления накипи, под узел подачи горячей воды (рис. 8) и нажмите
. - 19. Горячая вода выходит из узла подачи горячей воды/ пара. На дисплее появляется «ИДЕТ ОПОЛАСКИВАНИЕ, ПОЖАЛУЙСТА, ЖДИТЕ».
- 20. «СЛЕЙТЕ ВОДУ ИЗ ПОДДОНА ДЛЯ СБОРА КАПЕЛЬ» (рис. 21): по окончании второго ополаскивания слейте емкость, использованную для сбора воды после ополаскивания, снимите, опорожните и установите на место поддон для сбора капель (A15) и контейнер для гущи (A11), нажмите
. - 21. «УДАЛЕНИЕ НАКИПИ ЗАКОНЧЕНО»: нажмите

- 22. «ЗАЛЕЙТЕ СВЕЖУЮ ВОДУ»: извлеките бачок и заполните его свежей питьевой водой до уровня MAX, установите его в машину.
Операция по удалению накипи завершена.
Примечание
- Если цикл удаления накипи не закончен правильно (напр., отсутствие электроэнергии), машина запросит завершить цикл после включения.
- Если после завершения цикла удаления накипи остается вода в контейнере для кофейной гущи (A11), это считается нормальным.
- Прибор требует третье ополаскивание, если бачок для воды не заполнен до отметки Max. Это делается для того, чтобы гарантировать отсутствие средства для удаления накипи во внутренних контурах прибора. Перед началом ополаскивания следует опорожнить поддон для сбора капель.
14. НАСТРОЙКА ЖЕСТКОСТИ ВОДЫ
Запрос на удаление накипи отображается через определенный период работы, продолжительность которого зависит от жесткости воды.
По желанию можно запрограммировать прибор на основании фактической жесткости воды. Таким образом увеличивается интервал проведения операции по удалению накипи.
14.1 Измерение жесткости воды
1. Достаньте из упаковки индикаторную полоску из комплекта поставки TOTAL HARDNESS TEST (D1).
2. Полностью погрузите полоску в стакан воды примерно на одну секунду.
3. Достаньте полоску из воды и отряхните ее. Приблизительно через минуту появятся 1, 2, 3 или 4 красных квадратика в зависимости от жесткости воды. Каждый квадратик соответствует одному уровню.
14.2 Настройка жесткости воды
1. Перейдите в меню, как указано в параграфе «6.1 Доступ к меню».
2. Нажмите ■
«ЖЕСТКОСТЬ ВОДЫ».
3. Выполните действия из предыдущего параграфа и определите уровень жесткости воды.
4. «ЖЕСТКОСТЬ ВОДЫ, ТЕКУЩЕЕ ЗНАЧЕНИЕ ПОДЧЕРКНУТО» Нажмите уровень, определенный в предыдущем пункте, как указано в следующей таблице: (уровень 1 = мягкая вода, уровень 4 = очень жесткая вода).

5. Нажмите
для возврата на главную страницу.
Теперь кофемашина настроена на новые параметры жесткости воды.
15. ФИЛЬТР СМЯГЧЕНИЯ ВОДЫ
Некоторые модели оснащены фильтром для смягчения воды (D4). Если в приобретенной вами модели такой фильтр отсутствует, мы рекомендуем приобрести его в сервисных центрах De’Longhi. Процедура правильного использования фильтра приводится в инструкциях далее.
15.1 Установка фильтра
- 1. Перейдите в меню, как указано в параграфе «6.1 Доступ к меню».
- 2. Нажмите «ВОДНЫЙ ФИЛЬТР».
- 3. «ПОВЕРНИТЕ КАЛЕНДАРЬ НА СЛЕДУЮЩИЕ 2 МЕСЯЦА» (рис. 37). Извлеките новый фильтр (D4) из упаковки и поверните диск календаря так, чтобы отображались следующие 2 месяца использования. Нажмите
.

Примечание.
1Срок действия фильтра составляет два месяца при нормальном использовании прибора. Если прибор простаивает с уже установленным в нем фильтром, максимальный срок равен 3-м неделям.
- 4. «ЗАЛЕЙТЕ ВОДУ ЧЕРЕЗ ФИЛЬТР ДО ВЫХОДА ИЗ ОТВЕРСТИЙ» (рис. 38): чтобы активировать фильтр, необходимо залить водопроводную воду в центральное отверстие фильтра, как указано на рисунке, чтобы вода выходила из боковых отверстий в течение более одной минуты. Нажмите
. - 5. Достаньте бачок (A17) з машины и заполните его водой.
- 6. «ПОГРУЗИТЕ ФИЛЬТР, ЧТОБЫ ВЫПУСТИТЬ ПУЗЫРИ ВОЗДУХА» (рис. 39): вставьте фильтр в бачок с водой и полностью опустите его на десять секунд, наклоняя и слегка нажимая на него для удаления воздушных пузырей. Нажмите
.

- 7. «УСТАНОВИТЬ ФИЛЬТР В ГНЕЗДО»: установите фильтр (D4) в специальное место (рис. 36) и нажмите его до упора. Нажмите
. - 8. «ВСТАВЬТЕ БАЧОК ДЛЯ ВОДЫ»: закройте бачок крышкой (A16) и установите его на машину (рис. 4).
- 9. «ПОМЕСТИТЕ ЕМКОСТЬ 0,5 Л, НАЖМИТЕ
ДЛЯ АКТИВАЦИИ ФИЛЬТРА» (рис. 6): поместите емкость под узел подачи горячей воды (D6) и нажмите
: «ПОДАЧА ГОРЯЧЕЙ ВОДЫ, ПОЖАЛУЙСТА, ЖДИТЕ», подача начнется и прекратится автоматически.
Теперь фильтр работает, и можно использовать кофемашину далее.
15.2 Замена фильтра
Замените фильтр (D4), когда на дисплее появится «ЗАМЕНИТЬ ФИЛЬТР, НАЖМИТЕ OK ДЛЯ НАЧАЛА»: если вы хотите выполнить замену немедленно, нажмите
и выполните действия с пункта 3 предыдущей главы.
Если вы хотите отложить замену, нажмите
: на дисплее символ
(В8) напоминает, что прибор нуждается в замене фильтра. Для замены выполните следующее:
- 1. Перейдите в меню, как указано в разделе «6.1 Доступ к меню», и нажмите
. - 2. Нажмите «ФИЛЬТР ДЛЯ ВОДЫ».
- 3. Нажмите «ЗАМЕНИТЬ ФИЛЬТР».
- 4. Выполните операции, указанные в предыдущем параграфе, с пункта 3, сначала вынув бачок (А17) и отработанный фильтр.
Примечание.
Через два месяца использования (см. отметки в календаре) или в случае простоя прибора на протяжении 3 недель необходимо заменить фильтр даже в том случае, если машина еще не подала сигнал о замене.
15.3 Удаление фильтра
Если необходимо пользоваться прибором без фильтра (D4), необходимо его снять и сообщить о его отсутствии. Выполните следующие действия:
- 1. Достаньте бачок для воды (A17) и отработанный фильтр
- 2. Перейдите в меню, как указано в разделе «6.1 Доступ к меню», и нажмите
. Нажмите «ФИЛЬТР ДЛЯ ВОДЫ». - 3. Нажмите «СНИМИТЕ ФИЛЬТР ВОДЫ».
- 4. «ПОДТВЕРЖДЕНИЕ СНЯТИЯ ФИЛЬТРА»: нажмите
(если хотите вернуться к меню настроек, нажмите
. - 5. «СНЯТИЕ ФИЛЬТРА ВЫПОЛНЕНО»: прибор сохранил изменения. Нажмите
для возврата на главную страницу.
Примечание.
Через два месяца использования (см. отметки в календаре) или в случае простоя прибора на протяжении 3 недель необходимо заменить фильтр даже в том случае, если машина еще не подала сигнал о замене.
16. ТЕХНИЧЕСКИЕ ДАННЫЕ
- Напряжение: 220-240 В~ 50-60 Гц макс. 10 А
- Мощность: 1450Вт
- Давление: 1,5 мПа (15 бар)
- Емкость бачка для воды: 1,8 л
- Размеры LxPxH: 240x440x360 мм
- Длина шнура: 1250 мм
- Вес: 10 кг
- Макс. емкость контейнера для зерен: 300 г
16.1 Рекомендации по экономии энергии
Чтобы снизить энергопотребление после подачи одного или нескольких напитков, снимите контейнер (Е) или аксессуары.
Установите автоматическое отключение на 15 минут (см. параграф «6.11 Автовыключение (режим ожидания)
»):
Включение режима энергосбережения (см. параграф «6.13 Экономия энергии
»).
Когда кофемашина этого требует, выполняйте цикл удаления накипи (см. главу «13. Удаление накипи»).
17. СООБЩЕНИЯ, ОТОБРАЖАЕМЫЕ НА ДИСПЛЕЕ
|
ВЫВЕДЕННОЕ СООБЩЕНИЕ |
ВОЗМОЖНАЯ ПРИЧИНА |
РЕШЕНИЕ |
ЗАЛЕЙТЕ СВЕЖУЮ ВОДУ ![]() |
Недостаточно воды в бачке (A17). | Заполните бачок водой и правильно установите его, нажав до упора, пока не услышите щелчок. |
|
ВСТАВЬТЕ БАЧОК ДЛЯ ВОДЫ |
Бачок (A17) не установлен либо плохо вставлен. | Правильно вставьте бачок, нажав до упора. |
ОЧИСТИТЕ КОНТЕЙНЕР ДЛЯ ГУЩИ ![]() |
Контейнер для кофейной гущи (A11) переполнен. | Опорожните контейнер для кофейной гущи и поддон для сбора капель (A15), очистите их и установите на место. Важно: во время извлечения поддона для сбора капель обязательно опорожняйте контейнер для кофейной гущи, даже если он не полон. Если не выполнять такую операцию, то при последующих приготовлениях кофе контейнер для гущи переполнится, что приведет к засорению кофемашины. |
|
ВЫВЕДЕННОЕ СООБЩЕНИЕ |
ВОЗМОЖНАЯ ПРИЧИНА |
РЕШЕНИЕ |
|
ВСТАВЬТЕ КОНТЕЙНЕР ДЛЯ ГУЩИ
|
После очистки не был установлен контейнер для кофейной гущи (A11). | Снимите поддон для сбора капель (A15) и установите контейнер для кофейной гущи. |
ЗАСЫПЬТЕ МОЛОТЫЙ КОФЕ МАКС. 1 МЕРНУЮ ЛОЖКУ ![]() |
Выбрано приготовление напитка из предварительно молотого кофе. | Убедитесь, что воронка (A4) не закупорена, засыпьте мерную ложку без горки (D2) предварительно молотого кофе и нажмите ОК на дисплее. Следуйте инструкциям из параграфа «7.4 Приготовление кофе из предварительно молотого кофе». |
|
НАПОЛНИТЕ КОНТЕЙНЕР ДЛЯ ЗЕРЕН
|
Закончился кофе в зернах. |
наполните контейнер для зерен (A3) (рис. 9). |
| Засорена воронка (A4) для предварительно молотого кофе. | Опорожните воронку с помощью кисточки (D5), как описано в пар. «12.8 Очистка воронки для засыпки молотого кофе». | |
|
СЛИШКОМ МЕЛКИЙ ПОМОЛ ОТРЕГУЛИРОВАТЬ КОФЕМОЛКУ
|
Слишком мелкий помол, кофе выходит медленно или не выходит вообще. | Повторите подачу кофе и поверните рукоятку регулировки степени помола (A5) (рис. 12) на одно деление в сторону цифры 7 по часовой стрелке, когда кофемолка находится в работе. Если после приготовления 2 чашек подача будет по-прежнему слишком слабой, повторите регулировку, поворачивая ручку еще на одно деление (см. пар. «7.5 Регулировка кофемолки»). Если неполадка не устранена, убедитесь, что бачок для воды (A17) вставлен до упора. |
| Если имеется фильтр смягчения воды (D4), образование воздушного пузыря в системе может блокировать подачу. | Вставьте узел подачи горячей воды (D6) в машину и подайте немного воды, пока не пойдет ровная струя. Если проблема не устранена снимите фильтр (пар. «15.3 Удаление фильтра»). | |
| ВСТАВЬТЕ УЗЕЛ ПОДАЧИ ВОДЫ | Узел подачи воды (D6) не установлен либо плохо вставлен | Установите узел подачи воды до упора. |
|
ВЫВЕДЕННОЕ СООБЩЕНИЕ |
ВОЗМОЖНАЯ ПРИЧИНА |
РЕШЕНИЕ |
| ВСТАВЬТЕ КУВШИН ДЛЯ МОЛОКА | Кувшин для молока (Е) не установлен либо плохо вставлен. | Вставьте кувшин для молока, надавив на него до упора. |
|
ВСТАВЬТЕ ЗАВАРОЧНЫЙ УЗЕЛ |
После очистки не был установлен на место заварочный узел (A20). | Вставьте заварочный узел, как описано в пар. «12.9 Очистка заварочного узла». |
|
ГИДРОСИСТЕМА ПУСТА НАЖМИТЕ OK ДЛЯ НАЧАЛА |
Гидросистема пуста. |
Нажмите переключатель «OK» и слейте воду из узла подачи (D6), подача остановится автоматически. Если неполадка не устранена, убедитесь, что бачок для воды (A17) вставлен до упора. |
| Вставлен новый фильтр для смягчения воды (D4) | Убедитесь, что правильно выполнены инструкции по установке нового фильтра (пар. «15. Фильтр смягчения воды»). Если проблема не устранена снимите фильтр (пар. «15.3 Удаление фильтра»). | |
| НАЖМИТЕ OK ДЛЯ ОЧИСТКИ ИЛИ ПОВЕРНИТЕ РЕГУЛЯТОР | Кувшин для молока был вставлен, когда регулятор плотности пены (E1) находился в положении CLEAN. | Если хотите подключить функцию CLEAN, нажмите переключатель OK или поверните ручку регулятора пены в одно из положений для молока. |
|
УДАЛЕНИЕ НАКИПИ ПРЕРВАНО НАЖМИТЕ NEXT, ЧТОБЫ ПРОДОЛЖИТЬ |
Удаление накипи было прервано или закончено неправильно. | Нажмите кнопку NEXT, чтобы возобновить процесс удаления накипи. Для получения дополнительной информации см. главу «13. Удаление накипи. |
|
УСТАНОВИТЕ РЕГУЛЯТОР НА CLEAN |
Только что была выполнена подача молока, поэтому необходимо очистить внутренние каналы кувшина для молока (Е). | Поверните регулятор пены (E1) в положение CLEAN (рис. 18). |
| УСТАНОВИТЕ РЕГУЛЯТОР ПЛОТНОСТИ ПЕНЫ | Был запрошен рецепт напитка с молоком | Поверните ручку в положение, соответствующее требуемой пене. |
|
ВЫБЕРИТЕ БОЛЕЕ ЛЕГКИЙ ВКУС ИЛИ УМЕНЬШИТЕ К-ВО КОФЕ |
Было использовано слишком большое количество кофе. | Выберите меньший уровень крепости нажатием кнопки «Крепость» (C5) или уменьшите количество молотого кофе (максимум 1 мерная ложка). |
|
ВЫВЕДЕННОЕ СООБЩЕНИЕ |
ВОЗМОЖНАЯ ПРИЧИНА |
РЕШЕНИЕ |
| ТРЕБУЕТСЯ ОЧ-КА ОТ НАКИПИ НАЖМИТЕ ОК, ЧТОБЫ НАЧАТЬ (~ 30 МИН.) | Указывает, что необходимо удалить накипь из машины. | Нажмите переключатель «OK» для начала процесса удаления накипи или «ESC», если ее необходимо выполнить в другой раз. Необходимо как можно быстрее выполнить программу по удалению накипи, описанную в главе «13. Удаление накипи». |
|
ЗАМЕНИТЕ ФИЛЬТР ДЛЯ ВОДЫ НАЖМИТЕ OK ДЛЯ НАЧАЛА |
Фильтр для смягчения воды (D4) отработан. | Нажмите переключатель «OK» для замены фильтра или его снятия, или «ESC», если это необходимо выполнить в другой раз. Следуйте инструкциям из гл. «15. Фильтр смягчения воды». |
| ОБЩЕЕ ПРЕДУПРЕЖДЕНИЕ: СМ. РУКОВОДСТВО | Прибор внутри слишком загрязнен. | Тщательно очистите прибор, как описано в гл. «12. Очистка». Если после очистки машина опять выводит это сообщение, обратитесь в службу поддержки клиентов и (или) в авторизованный сервисный центр. |
![]() |
Напоминает о необходимости выполнить очистку внутренних каналов кувшина для молока (Е3). | Поверните регулятор пены (E1) в положение CLEAN (рис. 18). |
| напоминает, что необходимо заменить фильтр (D4). | Замените фильтр или снимите его согласно инструкциям из гл. «15. Фильтр смягчения воды». | |
![]() |
Напоминает о необходимости удаления накипи из машины. | Необходимо как можно быстрее выполнить программу по удалению накипи, описанную в главе «13. Удаление накипи». |
![]() |
Означает, что подключена функция экономии энергии. |
Чтобы отключить функцию энергосбережения, выполните инструкции из пар. «6.13 Экономия энергии |
| ПОЖАЛУЙСТА, ЖДИТЕ | Прибор разогревается до оптимальной температуры | |
| ИДЕТ ОЧИСТКА ПОЖАЛУЙСТА, ЖДИТЕ | Прибор обнаружил загрязнения внутри | Подождите, пока прибор не придет в режим готовности, а затем вновь выберите желаемый напиток. Если проблема не устранена, следует обратиться в сервисную службу и (или) в авторизованный сервисный центр. |
18. УСТРАНЕНИЕ НЕИСПРАВНОСТЕЙ
|
НЕИСПРАВНОСТЬ |
ВОЗМОЖНАЯ ПРИЧИНА |
РЕШЕНИЕ |
| Прибор не включается. | Штепсель не включен в розетку. | Подключите штепсель в розетку (рис. 1). |
| Кофе не горячий. | Чашки не были предварительно нагреты. | Подогрейте чашки путем их ополаскивания горячей водой (примечание: можно использовать функцию горячей воды). |
| Внутренняя система машины охладилась, так как после последнего приготовления кофе прошло более 2-3 минут. | Перед приготовлением кофе нагрейте заварочный узел с помощью ополаскивания посредством соответствующей функции (см. пар. «6.3 Ополаскивание |
|
| Задана слишком низкая температура кофе. |
Настройте в меню более высокую температуру кофе (см. пар. «6.7 Температура кофе Примечание: Изменение температуры более эффективно в жидких напитках. |
|
| Необходимо удалить накипь из машины. | Выполните действия из гл. «13. Удаление накипи». Затем проверьте степень жесткости воды («14.1 Измерение жесткости воды») и убедитесь, что настройки прибора соответствуют фактической жесткости («14.2 Настройка жесткости воды»). | |
| Кофе недостаточно крепкий или мало пенки. | Слишком крупный помол кофе. | Поверните ручку регулировки степени помола (A5) на одно деление в сторону цифры 1 против часовой стрелки во время работы кофемолки (рис. 12). Изменяйте регулировку по одной отметке за раз до получения желаемой подачи. Результат заметен только после приготовления 2 порций кофе (см. пар. «7.5 Регулировка кофемолки»). |
| Не подходит тип кофе. | Используйте тип кофе для кофемашин эспрессо. | |
| Кофе не свежий. | Упаковка кофе была открыта много времени назад, поэтому кофе потерял свой вкус. | |
| Кофе выходит слишком медленно или по каплям. | Слишком мелкий помол кофе. | Поверните рукоятку регулировки степени помола (A5) на одно деление в сторону цифры 7 по часовой стрелке во время работы кофемолки (рис. 12). Изменяйте регулировку по одной отметке за раз до получения желаемой подачи. Результат заметен только после приготовления 2 порций кофе (см. пар. «7.5 Регулировка кофемолки»). |
|
НЕИСПРАВНОСТЬ |
ВОЗМОЖНАЯ ПРИЧИНА |
РЕШЕНИЕ |
| Кофе не выходит из одного или обоих носиков узла подачи. | Носики узла подачи кофе (A9) закупорены. | Очистите носики при помощи зубочистки (рис. 24B). |
| Кофе получился водянистым. | Воронка (A4) засорилась. | Опорожните воронку с помощью кисточки (D5), как описано в пар. «12.8 Очистка воронки для засыпки молотого кофе». |
| Прибор не подает кофе. | Прибор обнаружил загрязнения внутри, на дисплее выведено сообщение «Идет очистка». | Подождите, пока прибор не придет в режим готовности, а затем вновь выберите желаемый напиток. Если проблема не устранена, обратитесь в сервисный центр. |
| Заварочный узел нельзя снять | Выключение не было выполнено правильно | Выключите нажатием кнопки |
| После завершения удаления накипи прибор требует третье ополаскивание | В процессе двух циклов ополаскивания бачок (A17) не был наполнен до отметки MAX | Во избежание перелива воды слейте сначала поддон для сбора капель (A15), затем выполните запрос прибора. |
| Молоко не вытекает из трубки подачи молока (E5) | Крышка (E2) кувшина для молока (Е3) загрязнена | Очистите крышку контейнера для молока, как описано в пар. «12.10 Очистка кувшина для молока». |
| Крышка (E2) установлена неправильно. | Правильно установите все компоненты, как указано в пар. "9.1 Наполните и вставьте кувшин для молока". | |
| Молоко выходит из трубки подачи (E5) крупными пузырями или брызгами или недостаточно вспенивается | Молоко недостаточно холодное или тип молока не подходит для приготовления требуемого напитка. | Для получения оптимальных результатов, убедитесь, что вы используете правильный тип молока для приготовления холодных или теплых напитков (см. пар. «9.1 Какое молоко использовать?»). Используйте напитки прохладной температуры (около 5 °C). |
| Плохо настроен регулятор пены (E1). | Отрегулируйте согласно инструкциям из гл. «9. приготовление горячих напитков с молоком». | |
| Загрязнения в крышке (E2) или регуляторе плотности пены (E1) кувшина для молока | Очистите крышку кувшина для молока и регулятор, как описано в пар. «12.10 Очистка кувшина для молока». | |
| В канале, расположенном под рукояткой регулировки пены (E1), имеется вода | Извлеките рукоятку и хорошо высушите. | |
| Используются растительные напитки. | Чтобы улучшить результат, используйте напитки прохладной температуры (около 5°C). Отрегулируйте количество пены согласно инструкциям из пар. «9.3 Выбор крепости кофе или использование предварительно молотого кофе.» | |
| Форсунка горячей воды (A8) загрязнена | Очистите форсунку, как описано в пар. «12.11 Очистка распылителя горячей воды». |
Ниже перечислены некоторые возможные неисправности. Если проблема не может быть устранена описанным образом, необходимо обратиться в центр технической поддержки.
|
НЕИСПРАВНОСТЬ |
ВОЗМОЖНАЯ ПРИЧИНА |
РЕШЕНИЕ |
| Машина не в работе, но издает шум или небольшие выбросы пара | Кофемашина готова к работе или была недавно выключена, при этом некоторые капли конденсата падают в еще горячее устройство пара. | Это явление является частью нормальной работы прибора. Чтобы уменьшить проявления, опорожните поддон для сбора капель. |
| Подставка для чашек (A12) горячая. | Было выполнено приготовление различных напитков один за другим | |
| После очистки не удается вставить поддон для сбора капель (А15) в машину. | Поддон для сбора капель (A10) расположен неправильно | Убедитесь, что поддон для сбора капель установлен правильно |
| Прибор выпускает пар из поддона для сбора капель (A15) и (или) есть вода на поверхности, где находится прибор. | После очистки не была установлена на место решетка поддона (A14). | Установите на поддон для сбора капель решетку. |
Технические параметры
Полная инструкция для кофемашины DeLonghi Dinamica Plus ECAM 380.95.TB доступна во вкладке "СКАЧАТЬ PDF/Просмотр"
Инструкция включает разделы по включению, настройке, приготовлению кофе и очистке. Некоторые выжимки:
Включение
При каждом включении прибор автоматически выполняет цикл предварительного нагрева и ополаскивания, который нельзя прерывать. Машина будет готова к использованию только после выполнения такого цикла.
После первого включения рекомендуется:
- Выбрать язык меню.
- Установить слева узел подачи горячей воды и подставить ёмкость для промывки (около 200 мл).
- Наполнить водой контейнер для воды — кофемашина проведёт заполнение контура водой и промывку.
Настройка
Некоторые разделы инструкции по настройке:
- Параметры напитков — в разделе можно просмотреть индивидуальные настройки и при необходимости вернуться к заводским параметрам каждого отдельного напитка.
- Фильтр для воды — инструкции по установке фильтра (D4) и настройке жёсткости воды.
- Автоматическое выключение (режим ожидания) — можно задать, чтобы прибор отключался через 15 или 30 минут, 1, 2 или 3 часа.
- Регулировка количества пены — поворотом регулятора плотности пены (E1) выбирается количество и тип молочной пены, которая подаётся во время приготовления молочных напитков.
Приготовление кофе
Некоторые разделы инструкции по приготовлению кофе:
- Использование кофейных зёрен — выбор интенсивности приготовления, количества кофе, регулировка кофейной мельницы.
- Приготовление кофе с использованием предварительно измельчённого кофе — регулировка кофейной мельницы.
- Приготовление горячих напитков на основе молока — наполнение и крепление графина для молока, регулировка количества пены, автоматическое приготовление капучино и напитков на основе молока.
Очистка
- Очистка внутреннего контура машины.
- Очистка контейнера для кофейной гущи.
- Очистка поддона для сбора капель, лотка для сбора конденсата, решётки поддона и индикатора заполненного поддона.
- Очистка бачка для воды — в случае простоя более 3–4 дней перед повторным использованием рекомендуется опорожнить бачок и наполнить его свежей питьевой водой, включить машину и выполнить промывку, выбрав функцию «Промывка».
Рекомендации:
- Очистка резервуара для воды — нужно извлечь бак для воды, снять фильтр (если имеется) и ополоснуть его под проточной водой. Опорожнить бачок для воды и промыть его горячей водой чистой неабразивной тканью. Вставить на место фильтр (если предусмотрен), заполнить бачок свежей питьевой водой до уровня МАХ и вставить бачок на место.
- Очистка поддона для сбора капель — нужно извлечь поддон для сбора капель и контейнер для кофейной гущи, снять подставку для чашек и решётку поддона, слить поддон для сбора капель и опорожнить контейнер для гущи, вымыть все компоненты.
Важно: не использовать металлические предметы для удаления накипи или отложений кофе, поскольку они могут поцарапать металлические или пластмассовые поверхности.
- Мощность: 1450 Вт.
- Давление: 15 бар.
- Тип используемого кофе: зерновой и молотый.
- Объём контейнера для зёрен: 300 г.
- Объём резервуара для воды: 1,8 л.
- Количество степеней помола: 13.
- Наличие капучинатора: да.
- Предустановленные напитки: эспрессо, кофе, лонг, доппио+, капучино, латте макиато и другие.
- Цвет: титановый/чёрный.
- Материал корпуса: пластик.
- Вес нетто: 9,5 кг.
- Дисплей: 3,5 дюйма, цветной TFT, сенсорная панель.
- Автоотключение: да.
- Гарантия: 3 года.
- Страна производства: Румыния.
Кофемашина DeLonghi Dinamica Plus ECAM380.95.TB — потребляемая мощность: 1450 вт; используемый кофе: зерновой, молотый; количество степеней помола: 13; съемный контейнер для воды: есть; объем контейнера для молока: 0.6 л; контейнер для отходов: есть; капучинатор: есть; управление: электронное, сенсорное; тип дисплея: сенсорный, tft; регулировка крепости кофе: есть; регулировка температуры кофе: есть; регулировка объема молочной пены: есть; приготовление эспрессо: есть; возможность приготовления капучино: есть; приготовление ристретто: есть; приготовление латте макиато: есть; приготовление флэт уайт: есть; одновременное приготовление двух чашек: есть; дополнительная информация: 3 профиля для персонализации; предварительное заваривание: есть; горячая вода: есть; автоматическая декальцинация: есть; режим энергосбережения: есть; регулировка помола: ручная; съемный лоток для сбора капель: есть; регулировка жесткости воды: есть; индикатор уровня воды: есть; индикатор необходимости очистки: есть; индикатор отсутствия кофе: есть; материал корпуса: пластик; максимальная высота чашки: 17 см; фильтр для воды: в комплекте; набор для очистки от накипи: в комплекте; инструкция: есть; напряжение: 220-240 в; высота: 42.9 см; глубина: 34.8 см










».