Руководство / инструкция
Beko

Стиральная машина
Инструкция по эксплуатации на русском языке

WSDN63512ZSW
RSGE68512ZSW
СОДЕРЖАНИЕ:
- 1. Важные инструкции по технике безопасности и охране окружающей среды
- 2. Описание стиральной машины
- 3. Установка / подключение
- 4. Подготовка к стирке
- 4.1. Сортировка белья
- 4.2. Подготовка белья к стирке
- 4.3. Рекомендации по экономии электроэнергии
- 4.4. Первое включение
- 4.5. Правильный объем загрузки
- 4.6. Загрузка белья
- 4.7. Использование моющего средства и кондиционера
- 5 Эксплуатация машины
- 5.1. Панель управления
- 5.2. Подготовка стиральной машины
- 5.3. Выбор программы и рекомендации по эффективной стирке
- 5.4. Таблица программ и энергопотребления
- Эксплуатация машины
- 5.5. Основные программы
- 5.6. Дополнительные программы
- 5.7. Специальные программы
- 5.8. Выбор температуры
- 5.9. Выбор скорости отжима
- 5.10. Выбор дополнительных функций
- 5.10.1. Дополнительные функции
- 5.10.2. Функции/программы, выбираемые нажатием и удерживанием кнопок в течение 3 секунд
- 5.11. Отложенный старт
- 5.12. Ход выполнения программы
- 5.13. Блокировка дверцы загрузочного люка
- 5.14. Изменение настроек после запуска программы
- 5.15. Отмена программы
- 5.16. Завершение программы
- 5.17. Особенности «Режима ожидания» вашей машины
- 6. Обслуживание и чистка
- 7. Устранение неисправностей
- Невозможно запустить или выбрать программу.
- В машине есть вода.
- Протечка воды под днищем машины.
- Машина не наполняется водой.
- Вода из машины не сливается.
- Машина сильно вибрирует или шумит.
- Машина остановилась вскоре после запуска программы.
- Поступающая в стиральную машину Beko вода сразу же сливается.
- Во время стирки вода в машине не видна.
- Дверца загрузочного люка не открывается.
- Стирка длится дольше, чем указано в иструкции ( ).
- Не производится обратный отсчет времени, оставшегося до окончания программы (в моделях с дисплеем) ()
- Не производится обратный отсчет времени, оставшегося до окончания программы ()
- Машина не переключается на режим отжима. ()
- Низкое качество стирки: выстиранное белье имеет серый оттенок. ()
- Низкое качество стирки: на белье остаются жирные пятна. ()
- Низкое качество стирки: белье имеет неприятный запах. ()
- Цветное белье линяет. ()
- Машина плохо полощет белье.
- После стирки белье стало жестким. ()
- Белье не имеет запаха кондиционера. ()
- После стирки осталось моющее средство. ()
- Повышенное пенообразование. ()
Прочитайте эту инструкцию перед началом эксплуатации
Уважаемый покупатель!
Спасибо за то, что отдали предпочтение продукции компании BEKO. Надеемся, что ваша высококачественная машина, изготовленная с применением самых современных технологий, будет демонстрировать наилучшие результаты эксплуатации. Для этого перед началом эксплуатации внимательно прочитайте эту инструкцию и всю сопутствующую документацию и используйте его в дальнейшем в качестве справочника. При передаче машины другому лицу передайте и эту инструкцию. Придерживайтесь всех предупреждений и информации, содержащихся в инструкции.
Эта инструкция по эксплуатации может применяться для нескольких моделей. Различия между моделями указаны в инструкции.
Условные обозначения
В данной инструкции используются следующие условные обозначения.
![]() |
Важная информация или полезные советы по эксплуатации. |
![]() |
Предупреждение об опасности травмирования или повреждения имущества. |
![]() |
Предупреждение об опасности поражения электрическим током. |
![]() |
Упаковка стиральной машины изготовлена из материалов, подлежащих вторичной переработке, в соответствии с местными нормами и правилами по охране окружающей среды. |
1. Важные инструкции по технике безопасности и охране окружающей среды
В этом разделе содержатся правила техники безопасности, соблюдение которых позволит избежать травмирования или материального ущерба. При несоблюдении этих правил все гарантийные обязательства аннулируются.
1.1. Общие правила техники безопасности
- Допускается использование данного изделия детьми старше 8 лет и лицами с ограниченными физическими, сенсорными и интеллектуальными возможностями, либо не имеющими опыта и знаний, только в том случае, если они находятся под присмотром или руководством относительно безопасного использования устройства и связанных с этим рисков. Не разрешайте детям играть с изделием.
- Не допускать детей младше трех лет без постоянного присмотра взрослых.
- Не устанавливайте машину на ковровом покрытии. Недостаточная вентиляция под днищем машины может привести к перегреву электрических деталей и проблемам в работе изделия.
- Не пользуйтесь неисправным изделием, пока не обратитесь в фирменный сервисный центр для проведения ремонта. Это может привести к поражению электрическим током!
- В данном изделии предусмотрено возобновлении работы при восстановлении подачи электроэнергии после перерыва. Для отмены выполнения программы следуйте указаниям в разделе «Отмена программы».
- Это устройство следует подключать к розетке с заземлением, защищенной предохранителем на 16 А. Обязательно установите заземление. Заземление должен выполнять квалифицированный электрик. При отсутствии заземления, выполненного в соответствии с местными правилами, компания-изготовитель снимает в себя всякую ответственность по возмещению ущерба.
- Шланг подачи воды и сливной шланг должны быть надежно закреплены и не иметь повреждений для предотвращения протечек.
- Не открывайте дверцу загрузочного люка и не извлекайте фильтр, если в барабане есть вода. При несоблюдении этого условия возникает опасность затопления и получения ожогов от горячей воды.
- Не пытайтесь открыть дверцу загрузочного люка, когда она заблокирована. Дверцу загрузочного люка можно открывать через несколько минут после окончания программы стирки. Попытка открыть заблокированную дверцу может привести к повреждению дверцы и замка.
- Отключайте машину от электрической сети, когда она не используется. Закройте водопроводный кран шланга подачи воды.
- Запрещается мыть машину струей воды. Это может привести к поражению электрическим током!
- Не прикасайтесь влажными руками к вилке шнура питания. Извлекая вилку из розетки, не тяните за шнур; беритесь только за вилку.
- Используйте только те моющие средства и добавки, которые предназначены для автоматических стиральных машин.
- Следуйте указаниям на этикетках одежды и белья, а также инструкциям на упаковке моющих средств.
- Перед выполнением установки, технического обслуживания, ремонта или мытья машины обязательно отключите ее от электрической сети.
- Работы по установке и ремонту машины должны выполнять только специалисты авторизованного сервисного центра. Компания-изготовитель не несет ответственности за ущерб, возникший в результате выполнения работ лицами, не имеющими на то права.
- Во избежание возможных рисков в случае повреждения шнура питания его должен заменить производитель, его представитель по сервису, лицо, имеющее аналогичную квалификацию (предпочтительно электрик), или лицо, уполномоченное изготовителем.
1.2. Использование по назначению
- Данное изделие предназначено для бытового применения. Запрещается применять изделие в коммерческих целях, а также не по прямому назначению.
- Изделие можно использовать только для стирки и полоскания одежды и белья, имеющих соответствующую маркировку.
- Компания-изготовитель не несет ответственности за ущерб, возникший в результате неправильного применения или транспортировки.
- Проектный срок службы изделия составляет 10 лет. В течение этого срока для обеспечения надежной работы изделия компания-изготовитель предоставляет фирменные запасные части.
1.3. Безопасность детей
- Упаковочные материалы представляют опасность для детей. Храните упаковочные материалы в безопасном месте, недоступном для детей.
- Электроприборы представляют опасность для детей. Не подпускайте детей к работающей машине. Следите за тем, чтобы они не повредили машину. Используйте блокировку от детей для предотвращения вмешательства в работу машины.
- Уходя из помещения, где установлена машина, обязательно закрывайте дверцу загрузочного люка.
Важные инструкции по технике безопасности и охране окружающей среды
- Храните моющие средства и добавки в безопасном месте, недоступном для детей, закрывая крышку контейнера моющего средства или запечатывая его упаковку.
1.4. Утилизация упаковки
Упаковка прибора изготовлена из сырья, подлежащего вторичной переработке, в соответствии c государственными законами об охране окружающей среды. Не выбрасывайте упаковочные материалы вместе с бытовыми или другими отходами. Отнесите упаковочные материалы в специально определенные места (площадки), организованные для целей сбора и накопления отходов. Упаковку необходимо складировать раздельно по видам отходов и группам, однородных отходов (раздельное накопление). Например, упаковочную пленку необходимо складировать в контейнер предназначенный для сбора пластиковых отходов или для сбора отходов подлежащих вторичной переработке и т.д.. Конкретные требования к местам временного накопления отходов (в том числе виды обозначений контейнеров) можно найти в региональных документах.
1.5. Утилизация старого изделия
-
Это изделие было произведено из высококачественных деталей и материалов, которые подлежат повторному использованию и переработке. Поэтому не выбрасывайте изделие с обычными бытовыми отходами после завершения его эксплуатации. Сдайте его на специальный пункт утилизации отходов электрического и электронного оборудования. О местонахождении ближайшего пункта сбора отходов вы можете узнать у местных властей. Способствуйте защите окружающей среды, пользуясь продукцией из переработанных материалов. Перед утилизацией изделия необходимо обрезать шнур питания и сломать замок дверцы загрузочного люка, чтобы исключить возможную опасность для детей.
1.6. Соответствие Директиве ЕС об утилизации электрического
и электронного оборудования (WEEE) и утилизация
вышедшего из употребления оборудования

Данное изделие соответствует Директиве ЕС об утилизации электрического и электронного оборудования (2012/19/EU). Данное изделие имеет маркировку, указывающую на утилизацию его как электрического и электронного оборудования (WEEE).
1.7. Соответствие ТР ЕАЭС 037 и Директиве ЕС по ограничению использования вредных веществ
стиральная машина Beko соответствует Техническому регламенту ТР ЕАЭС 037 «Об ограничении применения опасных веществ в изделиях электротехники и радиоэлектроники» и Директиве ЕС по ограничению использования вредных веществ (2011/65/EU). Она не содержит вредных и запрещенных материалов, указанных в Директиве и регламенте.
Описание стиральной машины
2.1. Общий вид
- Шнур питания
- Верхняя панель
- Панель управления
- Сливной шланг
- Дверца загрузочного люка
- Крышка фильтра
- Регулируемые ножки
- Распределитель моющих средств

-
2.2. Содержимое упаковки
- 1- Шнур питания
- 2- Сливной шланг
- 3- Транспортировочные предохранительные болты - 4 шт.*
- 4- Шланг подачи водопроводной воды (один из следующих типов фильтров используется для подсоединения шланга подачи водопроводной воды.)
* В зависимости от модели вашей машины количество транспортировочных предохранительных болтов может отличаться.

a- Электронное перекрытие воды
b- Механическое перекрытие воды
c- Стандарт
- 5- Инструкция по эксплуатации
- 6- Узел пластмассовой заглушки

2. Описание стиральной машины
2.3. Технические характеристики
| Модель | RSGE68512ZSW | WSDN63512ZSW |
| Макс. загрузка сухого белья (кг) | 6 | 6 |
| Высота (см) | 84 | 84 |
| Ширина (см) | 60 | 60 |
| Глубина (см) | 44 | 44 |
| Вес нетто (±4 кг) | 55 | 55 |
| Электропитание (В/Гц) | 230 V / 50 Hz | 230 V / 50 Hz |
| Ток (А) | 10 | 10 |
| Потребляемая мощность (Вт) | 1550 | 1550 |
| Макс. скорость отжима (об./мин.) | 1000 | 1000 |
| Энергопотребление в режиме ожидания (Вт) | 1.00 | 1.00 |
| Энергопотребление в выключенном состоянии (Вт) | 0.25 | 0.25 |
| Класс энергетической эффективности | А | А |
В связи с усовершенствованием изделия технические характеристики могут быть изменены без предварительного уведомления.
Рисунки в данной инструкции носят схематический характер и могут не вполне соответствовать конкретному изделию.
Данные, указанные на этикетках изделия и в сопроводительной документации, получены в лабораторных условиях согласно соответствующим стандартам. Эти данные могут отличаться в зависимости от условий эксплуатации изделия.
Класс энергоэффективности, указанный на панели управления, соответствует классу энергоэффективности Европейского Союза.
Для установки изделия обратитесь в ближайший фирменный сервисный центр. Прежде чем обращаться в фирменный сервисный центр, ознакомьтесь с инструкцией по эксплуатации и проверьте возможность подключения изделия к электросети, водопроводу и канализации. При необходимости обратитесь к квалифицированному электрику или сантехнику для выполнения необходимых подготовительных работ.

Подготовка места для установки изделия, в том числе подготовка электрической сети, водопровода и канализации к подключению изделия, является обязанностью покупателя.

ПРЕДУПРЕЖДЕНИЕ: Установку изделия и подключение его к электрической сети должны выполнять специалисты фирменного сервисного центра. Компания-изготовитель не несет ответственности за ущерб, возникший в результате выполнения работ лицами, не имеющими на то права.

ПРЕДУПРЕЖДЕНИЕ: Перед установкой необходимо выполнить осмотр изделия на наличие дефектов. Если таковые имеются, не устанавливайте изделие. Поврежденные изделия могут стать причиной несчастного случая.

Не допускайте перегибов, защемления или повреждения шнура электропитания, заливного и сливного шлангов при перемещении изделия на место во время установки или чистки.
3. Установка / подключение
3.1. Поэтапная установка
ШАГ 1. Выбор места для установки
- Для оптимальной производительности машину следует устанавливать на твердом полу. Не устанавливайте прибор на ковровом покрытии с длинным ворсом или подобных поверхностях.
- Деревянные полы, возможно, потребуется укрепить, чтобы снизить уровень вибрации и/или вероятность неравномерной загрузки. Ковровые покрытия и кафельные полы не устойчивы к вибрации, и стиральная машина Beko может несколько смещаться во время отжима.
- В случае установки на стиральную машину сушильного автомата общий вес приборов при полной загрузке составляет около 180 кг, поэтому их следует устанавливать только на ровном твердом полу, способном выдержать такую нагрузку.
- Не ставьте прибор на шнур питания.
- Не устанавливайте прибор в помещениях, где температура может опускаться ниже 0°C. Прибор должен быть защищён от воздействия прямых солнечных лучей.
- Между прибором и другой мебелью должен оставаться зазор не менее 1 см.
ШАГ 2. Удаление упаковочных материалов

ПРЕДУПРЕЖДЕНИЕ: Упаковочные материалы могут представлять опасность для детей. Утилизируйте все упаковочные материалы (пластиковые и полистироловые пакеты и т.п.), поместив в недоступное для детей место.
ШАГ 3. Удаление транспортировочных креплений

ПРЕДУПРЕЖДЕНИЕ: Не снимайте транспортировочные крепления, пока не удалите упаковочные материалы.

Перед эксплуатацией стиральной машины выньте транспортировочные болты!
Несоблюдение этого условия приведет к поломке машины.
- 1. Ослабьте болты гаечным ключом, чтобы они свободно вращались (C).
- 2. Осторожно поверните и выньте предохранительные транспортировочные болты (с пластиковыми и резиновыми втулками).
- 3. Закройте отверстия на задней стенке пластиковыми заглушками, которые находятся в пакете с инструкцией по эксплуатации. (P)

Сохраните предохранительные транспортировочные болты на случай, если стиральную машину понадобится перевозить.
Запрещается перевозить изделие, если предохранительные транспортировочные болты не установлены.
ШАГ 4. Регулировка ножек

ПРЕДУПРЕЖДЕНИЕ: Чтобы стиральная машина Beko работала тихо и без вибрации, она должна стоять ровно и устойчиво. Выровняйте машину, отрегулировав высоту ножек. Если этого не сделать, машина может сдвинуться со своего места, что приведет к повышенной вибрации и повреждениям.

- 1. Вручную ослабьте контргайки на ножках.

- 2. Отрегулируйте высоту ножек, чтобы машина стояла ровно и устойчиво.

- 3. Затем вручную затяните все контргайки.
![]()
ПРЕДУПРЕЖДЕНИЕ: Не используйте для ослабления контргаек какие-либо инструменты, чтобы не повредить их.
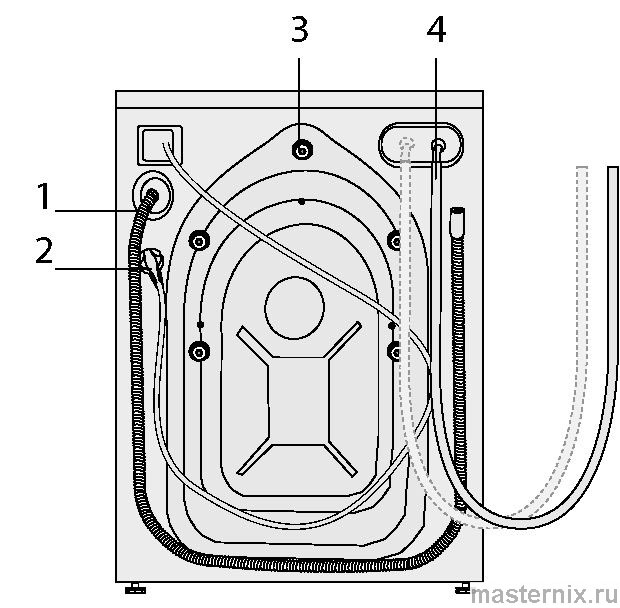
ШАГ 5. Подключение к водопроводу
Для нормальной работы машины давление в системе подачи воды должно быть в пределах от 1 до 10 бар (0,1 - 1 MПа). При этом расход воды при полностью открытом кране составит 10-80 литров воды в минуту. Если в водопроводе более высокое давление, необходимо установить редукционный клапан.
Если предполагается использовать изделие с двумя водоприемными патрубками как изделие с одним подводом воды (холодной), следует установить заглушку на впускной клапан горячей воды (это относится к изделиям, которые комплектуются заглушкой).

ПРЕДУПРЕЖДЕНИЕ: Модели с одним патрубком для подачи воды не следует подключать к крану горячей воды. В этом случае либо будет испорчено белье, либо сработает система защиты и машина перестанет работать.

ПРЕДУПРЕЖДЕНИЕ: Не используйте для новой стиральной машины заливные шланги, бывшие в употреблении. Это может стать причиной появления пятен на белье.

- 1. Затяните все гайки вручную. Не используйте для затяжки гаек гаечный ключ.
- 2. После подсоединения шлангов полностью откройте краны для проверки мест подсоединения на наличие протечек. В случае протечки закройте кран и отвинтите гайку. Проверьте прокладку и тщательно затяните гайку еще раз. Во избежание возможных протечек и связанного с этим ущерба закрывайте краны, когда машина не используется.
ШАГ 6. Слив воды
Конец сливного шланга следует подсоединить непосредственно к канализации или вывести в раковину.

ПРЕДУПРЕЖДЕНИЕ: Если во время слива шланг вырвется из места подсоединения, вода может разлиться по всему дому. Кроме того, существует опасность ожогов, поскольку температура воды может быть очень высокой! Во избежание таких ситуаций, а также для обеспечения нормальной работы систем подачи и слива воды, надежно закрепите конец сливного шланга.

- Шланг следует крепить на высоте от 40 см до 100 см.
- Если проложить шланг на высоте менее 40 см от уровня пола с последующим подъемом, слив воды будет затруднен, и белье будет оставаться мокрым. Поэтому следует соблюдать параметры высоты, указанные на рисунке.
- Для предотвращения попадания грязной воды обратно в стиральную машину и обеспечения беспрепятственного слива конец шланга не следует погружать в сливное отверстие глубже, чем на 15 см.
Если шланг слишком длинный, его нужно обрезать.
- Следите за тем, чтобы сливной шланг был проложен без перегибов и ничем не прижат, а конец сливного шланга не был скручен.
- Если шланг слишком короткий, нарастите его фирменным удлинительным шлангом. Общая длина шланга не должна превышать 3,2 м. Во избежание протечек воды для сращивания сливного шланга и удлинительного шланга следует использовать соответствующий хомут.
ШАГ 7. Подключение к электрической сети
Это устройство следует подключать к розетке с заземлением, защищенной предохранителем на 16 А. При отсутствии заземления, выполненного в соответствии с местными правилами, компания-изготовитель снимает c себя всякую ответственность по возмещению ущерба.
- Подключение должно осуществляться в соответствии с местными нормами и правилами.
- Прибор следует устанавливать таким образом, чтобы место подключения шнура питания к электросети было легкодоступным.
- Если в вашем доме установлен предохранитель или автоматический выключателя, рассчитанный на ток меньше 16 А, обратитесь к квалифицированному электрику для установки предохранителя на 16 А.
- Напряжение в сети должно соответствовать напряжению, указанному в разделе «Технические характеристики».
-
Запрещается подключение изделия к сети электропитания с помощью удлинителей или розеток с несколькими гнездами.

ПРЕДУПРЕЖДЕНИЕ: Замену поврежденного шнура питания должен производить только специалист фирменного сервисного центра.
Транспортировка изделия
- 1. Перед транспортировкой отключите изделие от электрической сети.
- 2. Отсоедините заливной и сливной шланги.
- 3. Слейте воду, оставшуюся в устройстве. см. 6.5.
-
4. Установите транспортировочные болты в порядке, обратном их снятию см. 3 (шаг 3).

Запрещается перевозить изделие, если предохранительные транспортировочные болты не установлены.
4. Подготовка к стирке
4.1. Сортировка белья
- Рассортируйте белье по типу ткани, цвету, степени загрязнения и допустимой температуре стирки.
- Следуйте указаниям на этикетках одежды и белья.

4.2. Подготовка белья к стирке
- Белье с металлическими элементами (например, бюстгальтеры на косточках, пряжки ремней и металлические пуговицы) может повредить машину. Перед стиркой снимите металлические детали или вложите белье в сетчатый мешочек или наволочку.
Достаньте из карманов все предметы (монеты, ручки, скрепки и т.п.), выверните их и очистите. Наличие посторонних предметов может привести к повреждению машины или к сильному шуму во время работы.
- Сложите мелкие вещи (детские носочки, нейлоновые чулки и т.п.) в сетчатый мешочек или наволочку.
- Гардины следует помещать в барабан в расправленном виде. Перед стиркой снимите с них крепления.
- Застегните молнии, пришейте ослабленные пуговицы, заштопайте дыры и зашейте разрывы.
- Для стирки изделий с этикетками «машинная стирка» или «ручная стирка» используйте только соответствующие программы.
- Не стирайте вместе цветное и белое белье. Новое цветное белье может сильно линять. Стирайте его отдельно.
- Перед стиркой необходимо соответствующим образом обработать сильно загрязненные места и пятна. В сомнительных случаях обратитесь в химчистку.
- Используйте только такие средства для подкрашивания или восстановления цвета и моющие средства, которые подходят для машинной стирки. Обязательно соблюдайте инструкции на упаковке.
- Стирайте брюки и тонкое белье, вывернув наизнанку.
- Изделия из ангорской шерсти перед стиркой поместите на несколько часов в морозильную камеру. Это уменьшит скатывание шерсти.
- Белье, сильно загрязненное мукой, известью, сухим молоком и т.п., перед загрузкой в стиральную машину Beko следует вытряхнуть. Со временем загрязнения такого рода могут накопиться на внутренних компонентах машины и стать причиной ее повреждения.
4.3. Рекомендации по экономии электроэнергии
Эти рекомендации помогут вам стирать экономно, не загрязняя окружающую среду.
- Загружайте в стиральную машину Beko максимальное количество белья для выбранной программы, но не перегружайте машину (см. «Таблицу выбора программ и энергопотребления»).
- Строго соблюдайте инструкции, приведенные на упаковке моющего средства.
- Стирайте слабо загрязненное белье при низкой температуре.
- Для стирки небольшого количества слабо загрязненного белья используйте короткие программы.
- Используйте замачивание и стирку при высокой температуре только для сильно загрязненного белья или белья с пятнами.
- Если вы планируете сушить белье в сушильном автомате, установите максимально допустимую скорость отжима.
- Соблюдайте рекомендации по количеству моющего средства, указанные на его упаковке. Не используйте больше порошка, чем требуется.
4.4. Первое включение
Перед началом эксплуатации изделия выполните все необходимые процедуры подготовки, описанные в разделах «Установка» и «Важные инструкции по технике безопасности и охране окружающей среды».
Чтобы подготовить стиральную машину для стирки белья, запустите программу «Очистка барабана». Если в машине отсутствует такая программа, примените метод, описанный в пункте 6.2.

Используйте только те моющие средства, которые предназначены для стиральных машин.

В стиральной машине может оставаться немного воды, использовавшейся в процессе контроля качества на предприятии-изготовителе. Это не представляет опасности для машины.
4.5. Правильный объем загрузки
Максимальный объем загрузки зависит от типа белья, степени загрязнения и используемой программы стирки.
Машина автоматически регулирует объем воды в соответствии с весом загруженного белья.
ПРЕДУПРЕЖДЕНИЕ. Используйте сведения, приведенные в «Таблице выбора программ и энергопотребления». Превышение допустимого объема загрузки приведет к ухудшению качества стирки, а также к повышенной вибрации и шуму во время работы машины.
| Тип белья | Вес (г) |
| Купальный халат | 1200 |
| Салфетка | 100 |
| Пододеяльник | 700 |
| Простыня | 500 |
| Наволочка | 200 |
| Скатерть | 250 |
| Полотенце | 200 |
| Тип белья | Вес (г) |
| Полотенце для рук | 100 |
| Вечернее платье | 200 |
| Нижнее белье | 100 |
| Мужской рабочий комбинезон | 600 |
| Мужская сорочка | 200 |
| Мужская пижама | 500 |
| Блузы | 100 |
4.6. Загрузка белья
Откройте дверцу загрузочного люка.
Расправьте белье и загрузите его в стиральную машину Beko, не сжимая.
Закройте дверцу и прижмите ее, чтобы раздался щелчок замка. Следите, чтобы белье не защемило дверцей.

Во время выполнения программы дверца загрузочного люка блокируется. Дверцу можно открыть только через некоторое время после завершения программы.
ПРЕДУПРЕЖДЕНИЕ. Если белье распределено в барабане неправильно, это может привести к повышенной вибрации и шуму во время работы машины.
4.7. Использование моющего средства и кондиционера
При использовании моющего средства, кондиционера, крахмала, красителя для тканей, отбеливателя или средства для удаления известковой накипи строго следуйте инструкциям изготовителя на упаковке моющего средства по применению и дозировке. Используйте дозировочную чашку, если таковая имеется.
Распределитель моющих средств

Распределитель моющих средств имеет три отделения:
- - (1) для замачивания
- - (2) для основной стирки
- - (з) для кондиционера
- - (*) кроме того, в отделении для кондиционера есть сифон.
Моющее средство, кондиционер и прочие средства для стирки
- Перед запуском программы стирки загрузите моющее средство (отделение «2») и кондиционер (при необходимости).
- Не оставляйте распределитель моющих средств открытым во время выполнения программы стирки!
- Если используется программа без замачивания, не загружайте моющее средство в отделение для замачивания (отделение «1»).
- При использовании программы с замачиванием не загружайте в отделение для замачивания жидкие моющие средства (отделение «1»).
- Не выбирайте программу с замачиванием, если используется моющее средство в специальном мешочке или распределяющем шарике. Поместите моющее средство в специальном мешочке или распределяющий шарик в барабан машины среди белья.
- При использовании жидкого моющего средства поместите его в отделение для основной стирки в дозировочной емкости (отделение «2»).
Выбор моющего средства
Выбор типа моющего средства зависит от типа и цвета ткани.
- Для цветного и белого белья следует использовать разные моющие средства.
- Для белья, требующего бережного обращения, следует использовать только специальные моющие средства (жидкие средства, средства для шерсти и т.д.).
- Для стирки изделий из темных тканей и лоскутных одеял рекомендуется использовать жидкие моющие средства.
-
Для стирки шерстяных изделий следует использовать моющие средства, предназначенные специально для шерсти.

ПРЕДУПРЕЖДЕНИЕ. Используйте только те моющие средства, которые специально предназначены для стиральных машин.
ПРЕДУПРЕЖДЕНИЕ. Не используйте мыльный порошок.
Дозировка моющих средств
Дозировка моющего средства зависит от количества белья, степени загрязнения и жесткости воды.
- Не превышайте дозировку, рекомендованную на упаковке моющего средства, во избежание повышенного пенообразования, некачественного полоскания, а также для экономии средств и, в конечном итоге, для защиты окружающей среды.
- Для стирки небольшого количества слабо загрязненного белья используйте меньшее количество моющего средства.
Использование кондиционеров
Кондиционер следует загружать в соответствующее отделение распределителя моющих средств.
- Не добавляйте кондиционер в отделение распределителя выше отметки максимального уровня (> max <).
-
Если кондиционер утратил текучесть, перед добавлением в распределитель разбавьте его водой. Использование жидких моющих средств

Если в комплект стиральной машины входит дозировочная емкость
- Поместите дозировочную емкость для жидких моющих средств в отделение «2».
- Если жидкое моющее средство утратило текучесть, перед загрузкой в распределитель разбавьте его водой.
Если дозировочная емкость не входит в комплект стиральной машины
- Не используйте жидкие моющие средства для замачивания в программах с замачиванием.
- При отложенном запуске жидкие моющие средства могут оставлять на белье пятна. Если используется функция отложенного запуска, жидкие моющие средства применять не следует.
Если стиральная машина Beko оснащена заслонкой дозатора для жидких моющих средств с выдвижным механизмом:

Если вы хотите использовать жидкое моющее средство, потяните заслонку дозатора на себя и осторожно опустите вниз. Часть, которая выдвинется, послужит ограничителем для жидкого моющего средства.
По мере необходимости промывайте заслонку водой.
Если вы будете использовать порошкообразное моющее средство, заслонка должна быть зафиксирована в верхнем горизонтальном положении.
Если стиральная машина Beko оснащена заслонкой дозатора для жидких моющих средств с поворотным механизмом: Если вы хотите использовать жидкое моющее

средство, нажмите на выступ заслонки, что бы повернуть ее и опустить в нижнее положение. В нижнем положении заслонка послужит барьером для жидкого моющего средства.
Если вы используете стиральный порошок, то заслонка должна быть установлена в верхнем положении ( открыта )
По мере необходимости промывайте заслонку водой.
Если дозировочная емкость не входит в комплект стиральной машины
- Не используйте жидкие моющие средства для замачивания в программах с замачиванием.
- При отложенном старте жидкие моющие средства могут оставлять на белье пятна. Если используется функция отложенного старта, жидкие моющие средства применять не следует.
Использование гелеобразных и таблетированных моющих средств
- Если используется гелеобразное моющее средство текучей консистенции, загрузите моющее средство в отделение для основной стирки.
- Если используется густое гелеобразное моющее средство или же используются моющее средство в капсулах, поместите его перед стиркой прямо в барабан.
- Моющие средства в таблетках можно помещать как в распределитель моющих средств (отделение «2»), так и прямо в барабан перед стиркой.
При использовании моющих средств в таблетках в отделении распределителя может оставаться некоторое количество моющего средства. Такое моющее средство лучше помещать перед стиркой прямо в барабан среди белья (в нижнюю часть барабана).

Не используйте гелеобразные или таблетированные моющие средства в программах с замачиванием.
Использование крахмала
- Добавлять жидкий крахмал, порошкообразный крахмал или краситель для тканей следует в отделение для кондиционера.
- Не используйте одновременно кондиционер и крахмал.
- После использования крахмала протрите барабан чистой влажной тканью.
Использование отбеливателей
- Выберите программу с замачиванием и добавьте отбеливатель в начале цикла замачивания.
Не следует загружать моющее средство в отделение для замачивания. Можно также выбрать программу с дополнительным циклом полоскания и загрузить отбеливатель в отделение для основной стирки, когда машина набирает воду для первого цикла полоскания.
- Не смешивайте отбеливатель с моющим средством.
- Используйте небольшое количество отбеливателя (около 50 мл) и тщательно прополаскивайте белье, поскольку отбеливатель может вызывать раздражение кожи. Не наливайте отбеливатель на белье и не используйте его при стирке цветного белья.
- При использовании кислородного отбеливателя выбирайте программу с низкой температурой.
- Кислородные отбеливатели можно использовать вместе с моющим средством. Однако, если они отличаются по консистенции, сначала загрузите в отделение «2» моющее средство и подождите, пока оно смоется водой. Затем, пока машина все еще набирает воду, добавьте в это же отделение отбеливатель.
Белье
| Светлое и белое | Цветные ткани | Темное | Деликатные/ шерстяные/шелковые изделия | ||
| (Рекомендуемый температурный диапазон в соответствии со степенью загрязнения: 40-90 °С) |
(Рекомендуемый температурный диапазон в соответствии со степенью загрязнения: холодная вода - 40°C) |
(Рекомендуемый температурный диапазон в соответствии со степенью загрязнения: холодная вода -40°C) |
(Рекомендуемый температурный диапазон в соответствии со степенью загрязнения: холодная вода -30°C) | ||
| Степень загрязнения |
Значительное загрязнение (Трудновыводимые пятна, например, от травы, кофе, фруктов и крови) |
Может возникнуть необходимость в предварительной обработке пятен или стирке. Рекомендуемые для стирки белого белья порошкообразные и жидкие моющие средства можно использовать в дозировках, подходящих для стирки сильно загрязненных вещей. Порошкообразные моющие средства рекомендуется использовать для выведения пятен от глины и земли, а также пятен, чувствительных к отбеливателям. | Рекомендуемые для стирки цветного белья порошкообразные и жидкие моющие средства можно использовать в дозировках, подходящих для стирки значительно загрязненных вещей. Порошкообразные моющие средства рекомендуется использовать для выведения пятен от глины и земли, а также пятен, чувствительных к отбеливателям. Используйте моющие средства, не содержащие отбеливатель. | Рекомендуемые для стирки цветного и темного белья жидкие моющие средства можно использовать в дозировках, подходящих для стирки значительно загрязненных вещей. | Отдавайте предпочтение жидким моющим средствам для стирки деликатных вещей. Шерстяные и шелковые вещи следует стирать специальными моющими средствами, предназначенными для стирки шерстяных изделий. |
|
Среднее загрязнение (Например, пятна от прикосновения тела на воротниках и манжетах) |
Рекомендуемые для стирки белого белья порошкообразные и жидкие моющие средства можно использовать в дозировках, подходящих для стирки средне загрязненных вещей. |
Рекомендуемые для стирки цветного белья порошкообразные и жидкие моющие средства можно использовать в дозировках, подходящих для стирки средне загрязненных вещей. Используйте моющие средства, не содержащие отбеливатель. | Рекомендуемые для стирки цветного и темного белья жидкие моющие средства можно использовать в дозировках, подходящих для стирки средне загрязненных вещей. | Отдавайте предпочтение жидким моющим средствам для стирки деликатных вещей. Шерстяные и шелковые вещи следует стирать специальными моющими средствами, предназначенными для стирки шерстяных изделий. | |
|
Незначительное загрязнение (Без видимых пятен) |
Рекомендуемые для стирки белого белья порошкообразные и жидкие моющие средства можно использовать в дозировках, подходящих для стирки незначительно загрязненных вещей. | Рекомендуемые для стирки цветного белья порошкообразные и жидкие моющие средства можно использовать в дозировках, подходящих для стирки незначительно загрязненных вещей. Используйте моющие средства, не содержащие отбеливатель. | Рекомендуемые для стирки цветного и темного белья жидкие моющие средства можно использовать в дозировках, подходящих для стирки незначительно загрязненных вещей. | Отдавайте предпочтение жидким моющим средствам для стирки деликатных вещей. Шерстяные и шелковые вещи следует стирать специальными моющими средствами, предназначенными для стирки шерстяных изделий. | |
5 Эксплуатация машины
5.1. Панель управления

- 1 - Ручка выбора программ (крайнее верхнее положение «Вкл./Выкл.»)
- 2 - Дисплей
- 3 - Кнопка отложенного старта
- 4 - Индикатор выполнения программы
- 5 - Кнопка «Старт/Пауза»
- 6 - Кнопка дополнительных функций 3
- 7 - Кнопка дополнительных функций 2
- 8 - Кнопка дополнительных функций 1
- 9 - Кнопка выбора скорости отжима
- 10 - Кнопка выбора температуры
5.2. Подготовка стиральной машины
- 1. Проверьте, надежно ли подсоединены шланги.
- 2. Включите машину в электросеть.
- 3. Полностью откройте кран.
- 4. Загрузите белье в стиральную машину Beko.
- 5. Добавьте моющее средство и кондиционер.
5.3. Выбор программы и рекомендации по эффективной стирке
- 1. Выберите программу из «Таблицы программ и энергопотребления» в соответствии с типом белья, его количеством, степенью загрязнения и температурой стирки.
- 2. Выберите необходимую программу с помощью ручки выбора программ.

| Дополнительные функции | |||||||||
| Программа | Максимальная загрузка (кг) | Расход воды (л) | Потребление энергии (кВт/ч) | Максимальная скорость отжима (об/мин) | Замачивание | Быстрая стирка | Удаление шерсти животных | Легкая глажка | |
| Хлопок | до 90 | 6 | 80 | 2.15 | 1000 | • | • | • | • |
| Хлопок | до 60 | 6 | 80 | 1.65 | 1000 | • | • | • | • |
| Хлопок | до 40 | 6 | 77 | 1.00 | 1000 | • | • | • | • |
| Хлопок Эко | до 60** | 6 | 45 | 1.13 | 1000 | ||||
| Синтетика | до 60 | 2.5 | 62 | 1.15 | 1000 | • | • | • | • |
| Синтетика | до 40 | 2.5 | 60 | 0.70 | 1000 | • | • | • | • |
| Экспресс | до 90 | 6 | 62 | 1.80 | 1000 | • | • | • | |
| Экспресс | до 60 | 6 | 62 | 0.90 | 1000 | • | • | • | |
| Экспресс | до 30 | 6 | 60 | 0.20 | 1000 | • | • | • | |
| Экспресс + Быстрая стирка | до 30 | 2 | 40 | 0.15 | 1000 | • | • | ||
| Микс 40 | до 40 | 3 | 65 | 0.75 | 800 | • | • | • | |
| Шерсть / Ручная стирка | до 40 | 1.5 | 45 | 0.40 | 1000 | • | |||
| Бережная | до 30 | 2 | 48 | 0.65 | 1000 | • | |||
| Пух (Пар) | до 40 | 1.5 | 70 | 1.10 | 1000 | • | |||
| Спорт/Мембрана | до 40 | 2.5 | 44 | 0.45 | 1000 | • | |||
| Тёмные вещи / Джинсы | до 40 | 2 | 70 | 0.75 | 1000 | • | • | ||
| Нижнее белье | до 60 | 1 | 52 | 0.25 | 600 | ||||
| Рубашки (Пар) | до 60 | 2.5 | 55 | 1.10 | 800 | • | • | • | • |
| Анти-аллергия (Пар) | до 90 | 6 | 99 | 2.30 | 1000 | ||||
| Очистка барабана | до 90 | - | 68 | 2.00 | 600 | ||||
Фактические значения расхода воды и электроэнергии могут отличаться от указанных в таблице в зависимости от давления, температуры и жесткости воды, температуры окружающей среды, типа и количества белья, использования дополнительных функций и скорости отжима, а также от напряжения в сети электропитания.
Время выполнения выбранной программы стирки отображается на дисплее машины. В зависимости от количества белья, загруженного в стиральную машину Beko, возможна разница в 1-1,5 часа между временем выполнения, указанным на дисплее, и фактическим временем выполнения цикла стирки. Сразу после начала стирки произойдет автоматическое обновление времени выполнения.
Набор дополнительных функций может отличаться от приведенного в таблице в зависимости от модели стиральной машины.
5.4. Таблица программ и энергопотребления
Эксплуатация машины
- : возможность выбора
- * * : данная программа при полной загрузке и максимальных оборотах вращения барабана является эталонной программой в соответствии со стандартом EN 60456

С целью экономии электроэнергии фактическая температура стирки может быть ниже, чем указанная в таблице программ.

Пар распространяется внутри машины во время вращения барабана. Это нормально, что пар не виден во время цикла.
5.5. Основные программы
В зависимости от типа ткани используйте следующие основные программы стирки.
Программа предназначена для стирки прочных изделий из хлопка (простыни, постельное белье, полотенца, купальные халаты, нижнее белье и пр.). Если нажата кнопка активации функции быстрой стирки, длительность программы значительно сокращается, однако при этом обеспечивается эффективная стирка за счет интенсивных движений барабана. Если функция быстрой стирки не выбрана, обеспечивается превосходная стирка и полоскание сильно загрязненного белья.
Данная программа используется для стирки синтетических изделий (таких как рубашки, блузки, синтетические/хлопчатобумажные смешанные ткани и пр.). Продолжительность программы значительно сокращается, и машина работает с высокой эффективностью. Если функция быстрой стирки не выбрана, обеспечивается превосходная стирка и полоскание сильно загрязненного белья.
Применяйте для стирки шерстяных или деликатных изделий. Температуру стирки изделий следует выбирать в соответствии с информацией, указанной на этикетках белья. С помощью этой программы стирка выполняется очень бережно, чтобы не повредить белье.
5.6. Дополнительные программы
В стиральной машине предусмотрены дополнительные программы для особых видов стирки.

Дополнительные программы могут отличаться в зависимости от модели стиральной машины.
С помощью этой программы можно стирать прочные ткани средней загрязненности из хлопка и льна. Стирка длится дольше, чем при использовании остальных программ, однако обеспечивается значительная экономия электроэнергии и воды. Фактическая температура воды может отличаться от указанной. При загрузке меньшего объема белья в стиральную машину Beko (например, половины объема барабана или меньше) время выполнения этапов программы может автоматически сокращаться. Таким образом, потребление энергии и воды сокращается и стирка получается более экономной.
Выполнение стадии обработки паром вначале программы позволяет легко размягчить загрязнения.
С помощью этой программы стирайте белье (детскую одежду, пододеяльники, постельное и нижнее белье и т. п.), которому требуется противоаллергическая и гигиеническая стирка в условиях высокой температуры и длительных интенсивных циклов. Высокая степень гигиены достигается благодаря применению пара перед выполнением программы, длительному времени нагревания и дополнительному этапу полоскания.
* программа была протестирована британским фондом по борьбе с аллергией (Allergy UK) при температуре 60 °C и была сертифицирована как эффективная в борьбе с аллергенами, бактериями и плесенью.
Программа предназначена для стирки деликатного белья, такого как вязаные изделия из смеси хлопка/синтетики или трикотажа. Данная программа обеспечивает более деликатный режим стирки. Стирайте изделия, которые могу полинять, при температуре 20 градусов или выбрав функцию холодной стирки.
Используйте эту программу с сокращенным циклом для стирки изделий из хлопка с незначительными загрязнениями и не имеющих пятен. Когда выбрана функция быстрой стирки, продолжительность этой программы можно сократить до 14 минут. При выборе функции быстрой стирки можно стирать максимум 2 (два) кг белья.
Используйте эту программу для сохранения цвета темной одежды или джинсов. С помощью этой программы обеспечивается высокоэффективная стирка даже при низкой температуре за счет специальных движений барабана. Для стирки темного белья рекомендуется использовать жидкие моющие средства или средства для шерсти. Не стирайте деликатные вещи, содержащие шерсть.
Применяется для совместной стирки изделий из хлопка и синтетических тканей без сортировки.
Эта программа предназначена для одновременной стирки рубашек из хлопка, синтетических и смешанных тканей. Она уменьшает количество складок. Для уменьшения количества складок после завершения программы применяется пар. После завершения программы применяется специальный режим вращения барабана и пар, благодаря чему уменьшается количество складок на рубашках. Когда выбрана функция быстрой стирки, выполняется алгоритм предварительной обработки.
Данная программа предназначена для стирки спортивной и верхней одежды, состоящей из смеси хлопка и синтетики, а также мембранных водоотталкивающих материалов и т. д. Она обеспечивает деликатную стирку вашей одежды благодаря специальным вращательным движениям.
Предназначена для стирки деликатной одежды, для которой допускается только ручная стирка, а также деликатного нижнего женского белья. Небольшое количество изделий следует стирать в сетчатом мешке для стирки. Крючки, пуговицы, молнии и т. п. должны быть застегнуты.
Предназначена для стирки стеганых одеял и перин с этикеткой «машинная стирка». Правильно загружайте одеяла в стиральную машину Beko, чтобы не повредить ни машину, ни само одеяло. Перед стиркой снимите с одеяла пододеяльник. Сложите одеяло вдвое и положите его в стиральную машину Beko. При загрузке одеяла следите за тем, чтобы оно не прижималось к манжете загрузочного люка или стеклу дверцы.
Для смягчения объемных изделий, например полотенец, после завершения программы применяется пар.
5.7. Специальные программы
В стиральной машине предусмотрены следующие программы для особых функций.
Отдельный цикл полоскания, который можно использовать просто для полоскания или подкрахмаливания белья.
Эта программа позволяет удалить воду из одежды или слить воду из машины.
Перед запуском этой программы нужно выбрать необходимую скорость отжима, а затем запустить программу, нажав кнопку «Старт/Пауза». Вначале выполняется откачка воды из машины, а затем - отжим белья при выбранной скорости и откачка отжатой воды.
Если отжим не требуется, а нужно только откачать воду из машины, выберите программу «Слив+Отжим», затем с помощью кнопки регулировки скорости отжима выберите функцию «Без отжима». Нажмите кнопку «Старт/Пауза».

Для тонкого белья следует устанавливать пониженную скорость отжима.
5.8. Выбор температуры
При выборе программы на индикаторе температуры отображается значение температуры, рекомендованное для данной программы.
Если нужно понизить температуру, нажмите кнопку регулирования температуры. Температура будет постепенно понижаться. Световые индикаторы температуры не загораются, если выбран режим стирки в холодной воде.

Пока программа не начнет цикл нагрева, температуру можно понизить, не переключая машину в режим "Остановка".
5.9. Выбор скорости отжима
При выборе программы на индикаторе скорости отжима отображается скорость отжима, рекомендованная для данной программы.
Если нужно снизить скорость отжима, нажмите кнопку регулировки скорости отжима. скорость отжима будет постепенно уменьшаться. После этого в зависимости от модели машины на дисплее отобразятся функции Rinse Hold (Задержка полоскания) и No spin (Без отжима). Если выбрана опция «No Spin» (Без отжима), световые индикаторы скорости отжима не загораются.
Задержка полоскания
Если нет необходимости выгружать белье сразу после завершения программы стирки, можно использовать функцию задержки полоскания и после последнего полоскания оставить белье в воде, чтобы предотвратить его сминание. Если после этого необходимо слить воду без отжима белья, нажмите кнопку «Старт/Пауза». После слива воды программа возобновит работу и закончит цикл стирки.
Чтобы отжать оставленное в воде белье, выберите скорость отжима и нажмите кнопку «Старт/ Пауза».
Выполнение программы продолжится. Будет выполнен слив воды и отжим, после чего программа завершится.
Пока программа не начнет цикл отжима, скорость отжима можно изменить, не переключая машину в режим "Остановка".
5.10. Выбор дополнительных функций
Нужные дополнительные функции следует выбирать перед запуском программы. Кроме того, во время работы машины вы можете также выбрать или отменить дополнительные функции, совместимые с выполняемой программой, без нажатия кнопки «Старт/Пауза». Для этого машина должна находиться на стадии, предшествующей дополнительной функции, которую вы собираетесь выбрать или отменить.
Если выбор или отмена дополнительной функции невозможны, индикатор соответствующей функции выдаст предупреждение в виде 3-кратного мигания.
В случае выбора функции, несовместимой с функцией, выбранной первой до запуска машины, включается функция, выбранная последней, а предыдущая функция отменяется.
Если дополнительная функция несовместима с программой, выбрать ее нельзя. (См. «Таблицу выбора программ и энергопотребления».)
Кнопки выбора дополнительных функций могут отличаться в зависимости от модели стиральной машины.
5.10.1. Дополнительные функции
Нужна только для сильно загрязненного белья. Не используйте замачивание без необходимости, чтобы сэкономить электроэнергию, воду, моющие средства и время. Если выбрана эта функция, осуществляется интенсивная стирка белья с меньшим количеством воды, а в конце этого этапа цикл стирки продолжается после доливки воды. Таким образом обеспечивается более быстрое удаление пятен.
Для штор и тюлевых гардин рекомендуется применять предварительную стирку без моющего средства.
При выборе этой функции продолжительность соответствующей программы сокращается на 50 %. Благодаря оптимизированным этапам стирки, высокой механической активности и оптимальному потреблению воды достигается эффективная стирка за короткий период времени.
При выборе этой дополнительной функции следует загружать в стиральную машину Beko половину максимального количества белья, указанного в таблице программ.
Эта функция предназначена для более эффективного удаления с одежды прилипшей к ней шерсти животных.
При выборе этой функции к стандартной программе добавляется цикл замачивания и дополнительный цикл полоскания. Кроме того, стирка выполняется с использованием большего количества воды, что способствует более эффективной очистке одежды от шерсти животных.
При выборе этой дополнительной функции следует загружать в стиральную машину Beko половину максимального количества белья, указанного в таблице программ.
5.10.2. Функции/программы, выбираемые нажатием и удерживанием кнопок в течение 3 секунд
Для выбора программы нажмите и удерживайте кнопку дополнительной функции 1 в течение 3 секунд.
Предназначена для очистки и дезинфекции барабана. Эту программу следует применять каждые 1-2 месяца. Программу следует запускать, когда машина полностью пустая. Для получения лучшего результата положите средство для удаления накипи для стиральных машин в отделение для моющего средства № «2». После завершения программы оставьте дверцу загрузочного люка приоткрытой, чтобы просушить машину внутри.

Эта программа не предназначена для стирки белья. Ее следует использовать только для ухода за стиральной машиной.
Не запускайте эту программу, если в машине есть какие-либо предметы. В этом случае машина определит, что барабан загружен, и прекратит выполнение программы.
Блокировка дверей
Используйте функцию блокировки от детей для предотвращения их вмешательства в работу машины. Этим вы можете предотвратить изменения выполняемой программы.

Если повернуть ручку выбора программы, когда включена блокировка от детей, на дисплее появится надпись «Con». После включения блокировки от детей невозможно изменить температуру и скорость отжима, а также выбрать или отменить дополнительные функции.
Если повернуть ручку выбора программ в другое положение, когда включена блокировка от детей, продолжается выполнение текущей программы.
Включение режима блокировки от детей:
Нажмите и удерживайте в течение 3 секунд кнопку дополнительной функции 2. Пока вы будете удерживать нажатой эту кнопку в течение 3 секунд, на дисплее будут появляться соответственно символы C03, C02 и C01. Затем, пока мигает светодиод кнопки дополнительной функции 2, на дисплее появится надпись «Con», означающая, что блокировка от детей включена. Такая же надпись появится на дисплее в том случае, если при включенной блокировке от детей повернуть ручку выбора программ или нажать какую-либо кнопку.
Чтобы отменить режим блокировки от детей:
Во время работы программы нажмите и удерживайте кнопку дополнительной функции 2 в течение 3 секунд. Пока вы будете удерживать нажатой эту кнопку в течение 3 секунд, на дисплее будут появляться соответственно символы C03, C02 и C01. Затем, пока мигает светодиод кнопки дополнительных функций 2, на дисплее появится надпись «COF», означающая, что блокировка от детей выключена.

Если ни одна из программ не выполняется, режим блокировки от детей можно также отменить поворотом ручки выбора программ в положение «Вкл./Выкл.» с последующим выбором другой программы.
При перебоях подачи электроэнергии или отключении стиральной машины от сети блокировка от детей остается включенной.
Легкая глажка 
Выбор этой функции осуществляется после нажатия и удержания в течение 3 секунд кнопки дополнительной функции 3 и загорания индикатора хода выполнения соответствующего этапа программы. После выбора этой функции барабан вращается до 8 часов для предотвращения смятия белья после завершения программы . Можно отменить программу и вынуть белье в любое время в течении этого 8-ми часового периода. Для отмены функции нажмите кнопку выбора функции. Символ будет гореть до тех пор, пока функция не будет отменена. Если не отменить функцию, она так же активируется в других программах, в которых есть возможность выбора этой функции.
С помощью функции «Отложенный старт» можно отложить окончание выполнения программы на срок до 19 часов. Время окончания выполнения программы можно устанавливать с интервалом в 1 час.
• Очистка барабана ^3
5.11. Отложенный старт
При установке отложенного старта не используйте жидкие моющие средства! На одежде могут появиться пятна.
- 1. Откройте дверцу загрузки, загрузите белье и добавьте моющее средство в распределитель и т.д.
- 2. Выберите программу стирки, температуру, скорость отжима и, при необходимости, выберите дополнительные функции.
- 3. Установите нужное время с помощью кнопки «Отложенный старт».
-
4. Нажмите кнопку «Старт/Пауза». На дисплее будет показано заданное время окончания выполнения программы. После этого начнется обратный отсчет времени до окончания выполнения программы. При этом символ «_» на дисплее рядом со временем отложенного старта будет двигаться вверх-вниз.
Пока идет отсчет времени отложенного старта, можно добавлять белье в стиральную машину Beko. - 5. По истечении времени отложенного старта на дисплее будет показана продолжительность выполнения выбранной программы. Индикация «_» исчезнет, и начнется выполнение программы.
Изменение интервала отложенного старта
Изменение времени старта во время обратного отсчета.
- 1. Нажмите кнопку «Отложенный старт». При каждом нажатии кнопки интервал увеличивается на 1 час.
- 2. Чтобы сократить время отсрочки, последовательно нажимайте кнопку отложенного старта, пока на дисплее не будет показано нужное время окончания программы.
Отмена функции отложенного старта
Чтобы отменить отсчет времени отложенного старта и немедленно запустить программу, выполните следующие действия.
- 1. Установите нулевой интервал времени отсрочки или поверните ручку выбора программ в любое положение. После этого функция отложенного старта отменяется и индикатор «Завершение/ Отмена» начинает непрерывно мигать.
- 2. После этого следует снова выбрать необходимую программу.
- 3. Для запуска программы нажмите кнопку «Старт/Пауза».
-
4. Включится индикатор хода выполнения, указывающий, что программа начала работу.

Если в процессе выбора программы на протяжении одной минуты не будет запущена ни одна программа или не будет нажата ни одна кнопка, стиральная машина Beko перейдет в режим «Остановка». При этом интенсивность отображения индикаторов температуры, скорости отжима и блокировки дверцы уменьшится. Остальные индикаторы и символы погаснут. Если повернуть ручку выбора программы или нажать какую-либо кнопку, индикаторы и символы включатся снова.
5.12. Ход выполнения программы
За ходом выполнения программы можно следить с помощью индикатора выполнения программы.
В начале каждого цикла программы включается соответствующий индикатор, при этом индикатор выполненного цикла гаснет.
В ходе выполнения программы можно изменить выбор дополнительных функций, скорость отжима и температуру без остановки выполняющейся программы. Все изменения можно выполнять только до начала этапа, к которому относятся эти изменения. Если изменения не соответствуют выполняемой программе, соответствующий индикатор трижды мигнет.
Если стиральная машина Beko не переходит к этапу отжима, то либо включена функция остановки с водой, либо сработала система автоматического контроля балансировки из-за неравномерного распределения белья внутри барабана.
5.13. Блокировка дверцы загрузочного люка
Дверца загрузочного люка стиральной машины снабжена системой блокировки, предотвращающей возможность открывания дверцы при высоком уровне воды.
При переключении машины в режим остановки индикатор дверцы загрузочного люка начинает мигать, и машина определяет уровень воды в барабане. Если уровень воды допустимый, то индикатор дверцы загрузочного люка гаснет и через 1-2 минуты дверцу можно будет открыть.
Если уровень воды недопустимый, индикатор дверцы загрузочного люка начнет светится ровным светом и открыть дверцу невозможно. Если требуется открыть дверцу загрузочного люка, когда индикатор дверцы светится, нужно отменить выполняемую программу. См. «Отмена программы».
5.14. Изменение настроек после запуска программы
Переключение стиральной машины в режим остановки
Чтобы во время выполнения программы переключить стиральную машину в режим остановки следует нажать кнопку «Старт/Пауза». Индикатор этапа стирки, который выполнялся на момент остановки, начнет мигать, предупреждая о переключении стиральной машины в режим остановки.
Если при этом можно открыть дверцу загрузочного люка, индикатор дверцы погаснет.
Изменение выбора дополнительных функций, скорости отжима и температуры
В зависимости от этапа выполнения программы можно выбирать или отменять дополнительные функции. См. раздел «Выбор дополнительных функций».
Вы также можете изменить настройки скорости отжима и температуры стирки. См. разделы «Выбор скорости отжима» и «Выбор температуры».

Если изменение настроек запрещено, соответствующий индикатор трижды мигнет.
Добавление или извлечение белья
- 1. Нажмите кнопку «Старт/Пауза», чтобы переключить стиральную машину в режим остановки. Индикатор этапа стирки, который выполнялся в момент остановки, начнет мигать.
- 2. Подождите, пока можно будет открыть дверцу загрузочного люка.
- 3. Откройте дверцу и добавьте или выньте белье.
- 4. Закройте дверцу загрузочного люка.
- 5. При необходимости измените настройки дополнительных функций, температуры и скорости отжима.
- 6. Для запуска программы нажмите кнопку «Старт/Пауза».
5.15. Отмена программы
Чтобы отменить программу, поверните ручку выбора программы в положение, соответствующее другой программе. Выбранная ранее программа будет отменена. После отмены программы индикатор «Завершение/Отмена» начнет непрерывно мигать.
При повороте ручки выбора программы текущая программа отменяется, однако слив воды из машины не производится. После выбора и запуска новой программы ее выполнение начнется в зависимости от того, на каком этапе была остановлена предыдущая программа. Например, машина может начать закачку дополнительного количества воды или же продолжить стирку, используя уже имеющуюся в барабане воду.

В зависимости от того, на каком этапе была отменена предыдущая программа, после выбора и запуска новой программы, возможно, потребуется добавить моющее средство и кондиционер.
5.16. Завершение программы
После завершения программы на дисплее появится надпись «End»:
- 1. Дождитесь, пока индикатор дверцы загрузочного люка погаснет.
- 2. Выключите стиральную машину выключателем.
- 3. Выньте из стиральной машины белье и закройте дверцу загрузочного люка. После этого машина готова к выполнению следующей стирки.
5.17. Особенности «Режима ожидания» вашей машины
стиральная машина Beko автоматически перейдет в режим энергосбережения, если после включения машины с помощью кнопочного выключателя не будет запущена какая-либо программа, либо не будет выполнена другая процедура на стадии выбора, либо не будет выполнено никаких действий в течение двух минут после того, как выбранная вами программа закончилась. При этом уменьшается яркость свечения индикаторов. Кроме того, если на дисплее машины отображалось продолжительность выполнения программы, он погаснет. После поворота ручки выбора программ или нажатия любой кнопки предыдущее состояние индикаторов и дисплея восстановится. Настройки, которые вы делаете при выходе из режима энергосбережения, могут измениться.
6. Обслуживание и чистка
Регулярно (после каждых 4-5 циклов стирки) очищайте распределитель моющих средств, чтобы в нем не накапливались остатки стирального порошка.
-
1. Поднимите заднюю часть сифона, чтобы его вынуть, как показано на рисунке.

Если в отделении для кондиционера начинает скапливаться смесь воды и кондиционирующего средства, превышающая нормальный объем, очистите сифон.
- 2 Промойте распределитель моющих средств и сифон в раковине обильным количеством теплой воды. При чистке распределителя надевайте защитные перчатки или пользуйтесь специальной щеткой, чтобы не прикасаться к остаткам моющих средств.
- 3 После чистки установите сифон на место и вдвиньте его переднюю часть вниз так, чтобы защелкнулся стопорный язычок.
6.2. Чистка дверцы загрузочного люка и барабана
Со временем в машине могут накапливаться остатки кондиционера, моющих средств и загрязнения, что может вызывать неприятные запахи и привести к некачественной стирке. Для предотвращения таких проблем используйте программу «Очистка барабана». Если в данной модели программа «Очистка барабана» не предусмотрена, запустите программу «Хлопок-90» с дополнительными функциями «Дополнительная вода» или «Дополнительное полоскание». При запуске этой программы белье в стиральную машину Beko не загружается. Перед запуском программы положите моющее средство (отделение 2). По завершении программы вытрите уплотнительную манжету изнутри чистой тканью.

Очистку барабана следует производить каждые 2 месяца.
Используйте только те моющие средства, которые предназначены для стиральных машин.

После каждой стирки проверяйте барабан на наличие посторонних предметов.
Если показанные на рисунке отверстия заблокированы, очистите их с помощью зубочистки.
Наличие в барабане посторонних металлических предметов приведет к образованию пятен ржавчины. Для очистки поверхности барабана используйте средства для чистки нержавеющей стали. Ни в коем случае не используйте металлические или проволочные мочалки.
ПРЕДУПРЕЖДЕНИЕ. Ни в коем случае не используйте жесткие губки или абразивные материалы. Это может повредить окрашенные и пластмассовые детали.
6.3. Чистка корпуса и панели управления
Вымойте корпус машины мыльным раствором или мягким моющим средством и вытрите досуха мягкой тканью.
Для чистки панели управления пользуйтесь только мягкой влажной тканью.
6.4. Очистка фильтров впускных патрубков
Фильтры находятся на концах впускных патрубков для воды на задней стенке машины, а также на концах заливных шлангов в местах подсоединения к водопроводным кранам. Эти фильтры предотвращают попадание в стиральную машину посторонних веществ и грязи из водопровода. По мере загрязнения фильтры следует очищать.
-
1 Закройте краны.

- 2 Снимите гайки на заливных шлангах для доступа к фильтрам во впускных патрубках. Очистите их подходящей щеточкой. Если фильтры сильно загрязнены, их следует извлечь плоскогубцами и почистить.
- 3 Извлеките фильтры из прямых концов заливных шлангов вместе с прокладками и тщательно промойте под струей воды.
- 4 Аккуратно установите в обратном порядке прокладки и фильтры, подключите заливной шланг, затянув гайки вручную.
6.5. Слив оставшейся воды и очистка фильтра насоса
стиральная машина Beko оснащена системой фильтров, которая предотвращает попадание в крыльчатку насоса твердых предметов (пуговиц, монет, волокон ткани и т.п.) во время слива воды. Это обеспечивает беспрепятственный слив воды и позволяет продлить срок службы насоса.
Если слив не выполняется нормально, фильтр насоса засорен. Фильтр следует очищать по мере загрязнения, но не реже одного раза в 3 месяца. Перед очисткой фильтра насоса необходимо слить воду.
Кроме того, необходимо полностью сливать воду из машины перед транспортировкой (например, при переезде в другую квартиру) или в случае опасности замерзания воды.
ПРЕДУПРЕЖДЕНИЕ. Если изделие не будет использоваться в течение длительного времени, закройте кран, отсоедините шланг подачи и слейте воду из машины, чтобы исключить возможность ее замерзания.
ПРЕДУПРЕЖДЕНИЕ. После каждого использования следует закрывать кран шланга подачи воды на изделии.

ПРЕДУПРЕЖДЕНИЕ. Наличие посторонних предметов в фильтре насоса может привести к повреждению машины или к сильному шуму во время работы.
Пожалуйста, проверьте и очистите ваш фильтр насоса!
Чтобы слить воду и очистить загрязненный фильтр, выполните следующее:
1 Отключите машину от электрической сети (выньте вилку из розетки).

ПРЕДУПРЕЖДЕНИЕ. Температура воды в машине может достигать 90°C. Во избежание ожогов очистку фильтра следует проводить только после того, пока вода в машине остынет.

- 2 Откройте крышку фильтра.
- 3 Некоторые модели оснащены шлангом аварийного слива воды. Чтобы слить воду из машины, выполните описанные ниже действия.
Слив воды в моделях, оснащенных шлангом аварийного слива:

a Извлеките шланг аварийного слива из отсека.
b Поместите под конец шланга вместительную емкость.
Выньте пробку на конце шланга и слейте воду. Когда емкость наполнится, закройте шланг пробкой. Вылейте воду из емкости и повторяйте описанную выше процедуру, пока вода не будет полностью слита из машины.

c После окончания слива закройте шланг пробкой и уложите его на место.
d Поверните фильтр насоса и выньте его.
Слив воды в моделях, не оснащенных шлангом аварийного слива:

a Откройте крышку фильтра.

b Поставьте перед фильтром вместительную емкость для слива воды.
c Понемногу поворачивайте фильтр насоса против часовой стрелки, пока не начнет выливаться вода. Слейте воду в установленную перед фильтром емкость. Всегда держите под рукой тряпку для сбора пролитой воды.
d Когда вода перестанет вытекать, полностью выверните фильтр и выньте его из машины.
- 4 Очистите внутреннюю часть фильтра и пространство вокруг крыльчатки насоса от мусора и волокон.
- 5 Вставьте фильтр на место.
7. Устранение неисправностей
Невозможно запустить или выбрать программу.
- стиральная машина Beko переключилась в режим самозащиты из-за нарушения подачи воды или электроэнергии (например, падение напряжения в сети, давления воды и т.п.). >>> Чтобы отменить программу, поверните ручку выбора программы в положение, соответствующее другой программе. Выбранная ранее программа будет отменена. (см. раздел «Отмена программы»).
В машине есть вода.
- В стиральной машине может оставаться немного воды, использовавшейся в процессе контроля качества на предприятии-изготовителе. >>> Это не является неисправностью и не представляет опасности для машины.
Протечка воды под днищем машины.
- Проверьте шланги и фильтр насоса: >>> Проверьте герметичность прокладок в заливных шлангах. Плотно присоедините шланг к водопроводному крану
- Возможно, фильтр насоса закрыт не полностью. >>> Проверьте, полностью ли закрыт фильтр насоса.
Машина не наполняется водой.
- Закрыт водопроводный кран. >>> Откройте краны.
- Перегиб заливного шланга. >>> Поправьте шланг
- Засорился фильтр патрубка подачи воды. >>> Очистите фильтр.
- Дверца загрузочного люка приоткрыта. >>> Закройте дверцу загрузочного люка.
Вода из машины не сливается.
- Сливной шланг засорился или перекручен. >>> Прочистите или выровняйте шланг
- Засорился фильтр насоса. >>> Очистите фильтр насоса.
Машина сильно вибрирует или шумит.
- Машина стоит неустойчиво. >>> Отрегулируйте ножки, чтобы выровнять машину
- В фильтр насоса попал посторонний предмет. >>> Очистите фильтр насоса.
- Не сняты транспортировочные предохранительные болты. >>> Удалите транспортировочные предохранительные болты.
- Загружено слишком мало белья. >>> Загрузите в стиральную машину Beko больше белья.
- Загружено слишком много белья. >>> Выньте из машины часть белья или распределите его равномерно вручную.
- Машина наклонена, поскольку под ножку попал посторонний предмет. >>> Убедитесь в отсутствии посторонних предметов, из-за которых машина стоит неровно.
Машина остановилась вскоре после запуска программы.
- стиральная машина Beko может временно остановиться из-за падения напряжения в сети. >>> Она возобновит работу после восстановления нормального напряжения.
Поступающая в стиральную машину Beko вода сразу же сливается.
- Сливной шланг установлен слишком низко. >>> Подсоедините сливной шланг, как описано в инструкцие по эксплуатации.
Во время стирки вода в машине не видна.
- Снаружи уровень воды в стиральной машине не виден. Это не является неисправностью.
Дверца загрузочного люка не открывается.
- Замок дверцы заблокирован, поскольку в машине есть вода. >>> Чтобы слить воду, запустите программу «Слив» или программу «Отжим».
- Машина греет воду или выполняет цикл отжима. >>> Дождитесь завершения программы.
- Включена блокировка от детей. Замок дверцы будет разблокирован через несколько минут после завершения программы. >>> Подождите несколько минут, пока замок дверцы будет разблокирован.
Стирка длится дольше, чем указано в иструкции ( ).
- Слабый напор воды. >>> Машине требуется больше времени, чтобы набрать столько воды, сколько необходимо для качественной стирки, поэтому время выполнения программы увеличивается.
- • Низкий уровень напряжения в электрической сети. >>> При низком напряжении в электрической сети время выполнения программы увеличивается во избежание некачественной стирки.
- Низкая температура поступающей воды. >>> В холодное время года для нагрева воды требуется больше времени. Время стирки также может быть увеличено во избежание некачественной стирки.
- Увеличилось число полосканий и/или количество воды для полоскания. >>> Для улучшения полоскания машина увеличивает количество воды и при необходимости выполняет дополнительный цикл полоскания.
- Возможно, из-за избыточного количества моющего средства образовалась обильная пена, и включилась автоматическая система контроля пенообразования. >>> Используйте рекомендованное количество моющего средства.
Не производится обратный отсчет времени, оставшегося до окончания программы (в моделях с дисплеем) ()
- Таймер может остановиться на этапе набора воды. >>> Индикатор таймера не показывает обратный отсчет пока машина не наберет необходимое количество воды. Машина ожидает, пока не наберется достаточное количество воды, чтобы избежать некачественной стирки из-за недостатка воды. После этого таймер возобновит обратный отсчет
- Таймер может остановиться на этапе нагревания воды. >>> Индикатор таймера не показывает обратный отсчет пока вода в машине не нагреется до нужной температуры.
- Таймер может остановиться на этапе отжима. >>> Возможно, сработала система автоматического контроля балансировки из-за неравномерного распределения белья внутри барабана.
Не производится обратный отсчет времени, оставшегося до окончания программы ()
- Возможно, белье в барабане распределено неравномерно. >>> Возможно, сработала система автоматического контроля балансировки из-за неравномерного распределения белья внутри барабана.
Машина не переключается на режим отжима. ()
- Возможно, белье в барабане распределено неравномерно. >>> Возможно, сработала система автоматического контроля балансировки из-за неравномерного распределения белья внутри барабана.
- стиральная машина Beko не перейдет в режим отжима, если вода не будет слита полностью. >>> Проверьте фильтр и сливной шланг.
- Возможно, из-за избыточного количества моющего средства образовалась обильная пена, и включилась автоматическая система контроля пенообразования. >>> Используйте рекомендованное количество моющего средства.
Низкое качество стирки: выстиранное белье имеет серый оттенок. ()
Низкое качество стирки: белье не отстирывается, и на нем остаются пятна. ( )
- Недостаточное количество моющего средства. >>> Используйте рекомендованное количество моющего средства в соответствии с типом белья.
- Загружено слишком много белья. >>> Не перегружайте машину сверх меры. Загружайте количество белья в соответствии с рекомендациями в таблице «Описание программ».
- Программа и температура выбраны неверно. >>> Выбирайте программу и температуру стирки в соответствии с типом белья.
- Неподходящее моющее средство. >>> Используйте высококачественные моющие средства, предназначенные для стиральных машин.
- Моющее средство загружено не в то отделение распределителя. >>> Кладите моющее средство в соответствующее отделение распределителя. Не смешивайте стиральный порошок и отбеливатель.
Низкое качество стирки: на белье остаются жирные пятна. ()
- Барабан уже давно не чистился. >>> Регулярно очищайте барабан. Инструкции по чистке см. в 6.2.
Низкое качество стирки: белье имеет неприятный запах. ()
- В результате постоянной стирки при низкой температуре и/или с использованием коротких программ в барабане накапливается слой бактерий, которые издают неприятный запах. >>> После стирки оставляйте приоткрытыми распределитель моющих средств и дверцу загрузочного люка. Таким образом, внутри машины не сможет образовываться влажная среда, благоприятная для роста бактерий.
Цветное белье линяет. ()
- Загружено слишком много белья. >>> Не перегружайте машину сверх меры.
- Моющее средство отсырело. >>> Храните моющие средства в закрытой таре в сухом прохладном месте.
- Выбрана слишком высокая температура стирки. >>> Выбирайте программу и температуру стирки в соответствии с типом и степенью загрязнения белья.
Машина плохо полощет белье.
- Качество полоскания зависит от количества, марки и условий хранения используемого порошка. >>> Используйте моющие средства для стиральных машин, предназначенные для данного типа белья. Храните моющие средства в закрытой таре в сухом прохладном месте.
- Моющее средство загружено не в то отделение распределителя. >>> Если загрузить моющее средство в отделение для замачивания, когда замачивание не используется, машина может забрать это средство в процессе полоскания или применения кондиционера. Кладите моющее средство в соответствующее отделение распределителя.
- Засорился фильтр насоса. >>> Проверьте фильтр.
- Пережат сливной шланг. >>> Проверьте сливной шланг.
После стирки белье стало жестким. ()
- Недостаточное количество моющего средства. >>> При стирке в жесткой воде с недостаточным количеством моющего средства белье со временем становится жестким. Используйте нужное количество моющего средства в соответствии со степенью жесткости воды.
- Моющее средство загружено не в то отделение распределителя. >>> Если загрузить моющее средство в отделение для замачивания, когда замачивание не используется, машина может забрать это средство в процессе полоскания или применения кондиционера. Кладите моющее средство в соответствующее отделение распределителя.
- Возможно, моющее средство смешано с кондиционером. >>> Не смешивайте кондиционер с моющим средством. Промойте и очистите распределитель горячей водой.
Белье не имеет запаха кондиционера. ()
Остатки моющего средства в распределителе моющих средств. ()
- Моющее средство было загружено во влажный распределитель. >>> Вытирайте насухо распределитель перед загрузкой моющего средства.
- Моющее средство отсырело. >>> Храните моющие средства в закрытой таре в сухом прохладном месте.
- Слабый напор воды. >>> Проверьте давление воды.
- Моющее средство в отделении основной стирки намокло во время набора воды для замачивания. Засорились отверстия в отделении распределителе моющих средств. >>> При необходимости прочистите эти отверстия.
- Проблема с клапанами распределителя моющих средств. >>> Обратитесь в фирменный сервисный центр.
- Возможно, моющее средство смешано с кондиционером. >>> Не смешивайте кондиционер с моющим средством. Промойте и очистите распределитель горячей водой.
- Барабан уже давно не чистился. >>> Регулярно очищайте барабан. Инструкции по чистке см. в 6.2.
После стирки осталось моющее средство. ()
- Загружено слишком много белья. >>> Не перегружайте машину сверх меры.
- Программа и температура выбраны неверно. >>> Выбирайте программу и температуру стирки в соответствии с типом белья.
- Неподходящее моющее средство. >>> Выбирайте моющее средство в соответствии с типом белья.
Повышенное пенообразование. ()

Белье долгое время стиралось при недостаточном количестве моющего средства. >>> Используйте рекомендованное количество моющего средства в соответствии со степенью жесткости воды и типом белья.
Белье долгое время стиралось при низкой температуре. >>> Выбирайте температуру стирки в соответствии с типом белья.
Недостаточное количество моющего средства при высокой жесткости воды. >>> При стирке в жесткой воде с недостаточным количеством моющего средства на белье оседают частицы жира, и белье со временем приобретает серый оттенок. Избавиться от такого серого налета довольно трудно. Используйте рекомендованное количество моющего средства в соответствии с уровнем жесткости воды и типом белья.
Моющее средство загружено не в то отделение распределителя. >>> Если загрузить моющее средство в отделение для замачивания, когда замачивание не используется, машина может забрать это средство в процессе полоскания или применения кондиционера. Промойте и очистите распределитель горячей водой. Кладите моющее средство в соответствующее отделение распределителя.
Возможно, моющее средство смешано с кондиционером. >>> Не смешивайте кондиционер с
моющим средством. Промойте и очистите распределитель горячей водой.
Возможно, не проводилась регулярная чистка барабана.>>> Регулярно очищайте барабан. См. 6.2
ПРЕДУПРЕЖДЕНИЕ. Если с помощью этих рекомендаций устранить проблему не удается, обратитесь в фирменный сервисный центр. Не пытайтесь отремонтировать неисправное изделие самостоятельно.
Технические параметры
Инструкция Стиральная машина Beko WSDN63512ZSW - установка: отдельностоящая; количество барабанов: 1; тип загрузки: фронтальная; максимальная скорость отжима: до 1000 об/мин; класс отжима: c; уровень шума при отжиме: 77 дб; тип управления: электромеханическое; размещение панели управления: горизонтальное; программы: хлопок, хлопок эко, синтетика, экспресс, микс, шерсть/ручная стирка, бережная, анти-аллергенная, рубашки, нижнее бельё, тёмные вещи/джинсы, спорт/мембрана, пух, полоскание, отжим/слив; функция пар: есть; регулировка температуры стирки: есть; минимальная температура воды: 20 °с; цифровой дисплей: есть; таймер отсрочки: есть; индикация времени до конца программы: есть; индикация скорости отжима: есть; индикация выбора дополнительных функций: есть; расход воды за цикл: 47.5 л; регулировка скорости отжима: есть; отмена отжима: есть; защита от детей: есть; контроль пенообразования: есть; класс энергопотребления: a; напряжение: 230 в; направление открывания люка: влево; автобаланс: есть; цвет: белый; инструкция: есть; высота: 84 см; глубина: 41.5 см




